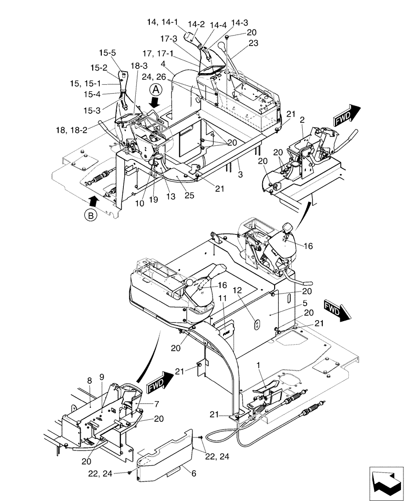
Запчасти Case CX17B (01-025[01]) - CONTROLS, OPERATORS (90) - PLATFORM, CAB, BODYWORK AND DECALS

Схема запчастей Case CX17B - (01-025[01]) - CONTROLS, OPERATORS (90) - PLATFORM, CAB, BODYWORK AND DECALS
18
2
20
18-2
7
21
20
18-3
17
21
14-4
14-3
15-2
6
22
10
16
21
8
22
16
3
20
15
11
23
12
17-3
26
20
1
20
4
20
14-2
20
21
24
21
15-1
20
20
14
5
19
13
17-1
15-3
25
9
24
15-4
24
15-5
14-1
FIT
1:1
100%

Артикул

Название

Примечание

Количество

PU03M00043F1

Controls, Operators

1шт.

1

PU55M00003F1

Pedal Instal

1шт.

Refer To 01-025(02)

1шт.

2

PU03M00036F1

Control Box Assy.

1шт.

Refer To 01-025(03)

1шт.

3

PU10M01110P3

STAND

, Serial Range: PU09-08001-PU09-08758

1шт.

3

PU10M01128P1

STAND

, Start Serial: PU09-08759

1шт.

4

PU10M01097P2

COVER

1шт.

5

PU03M01325P1

COVER

1шт.

6

PU03M01480P1

COVER

1шт.

7

PU03M01482P1

COVER

, Serial Range: PU09-08001-PU09-09824

1шт.

7

PU03M01482P2

COVER

, Start Serial: PU09-09825

1шт.

8

PU03M01321P2

COVER

, Serial Range: PU09-08001-PU09-08738

1шт.

8

PU03M01321P3

COVER

, Start Serial: PU09-08739

1шт.

9

PU03M01348P2

BOX

1шт.

10

PU10M01070P1

PLATE

1шт.

11

PU03M01273P1

COVER

1шт.

12

PF21C01135P1

RUBBER

1шт.

13

PU03M01393P1

RUBBER

1шт.

14

PW03M01630F1

GRIP

Assembly, Incl 14-1 - 14-4

1шт.

14-1

YW03M01011P2

KNOB

Grip

1шт.

14-2

YN03M01252P1

SCREW

Sems-bolt

1шт.

14-3

PW03M01632P1

LEVER

1шт.

14-4

PW03M01633P1

RING

1шт.

15

PW03M01634F1

GRIP

Assembly, Incl 15-1 - 15-5

1шт.

15-1

YN03M01246P2

HANDLE GRIP

1шт.

15-3

PW03M01632P1

LEVER

1шт.

15-4

PW03M01633P1

RING

1шт.

15-5

YN50E01001P2

SWITCH ASSY

Horn

1шт.

16

ZN18C14011

NUT

2шт.

17

PA03M01100F1

BOOT

Assembly, Incl 17-1 & 17-3

1шт.

17-1

YT03M01052P1

BOOT

1шт.

17-3

YT03M01051P2

PLATE

1шт.

18

PA03M01100F2

BOOT

Assembly, Incl 18-2 & 18-3

1шт.

18-2

YT03M01053P1

BOOT

1шт.

18-3

YT03M01051P2

PLATE

1шт.

19

PA03M01013P1

RUBBER

1шт.

20

PU03M01319P1

BOLT

Sems

8шт.

21

PU03M01279P1

BOLT

Sems

9шт.

22

PU21C01221D1

CAP

4шт.

23

PU03M01308F1

Lever Assy.

1шт.

Refer To 01-025(04)

1шт.

24

PU21C01222P1

WASHER

6шт.

25

PU10M01108P2

PLATE

1шт.

26

PU21C01221D2

CAP

2шт.

Выбрано товаров: 45