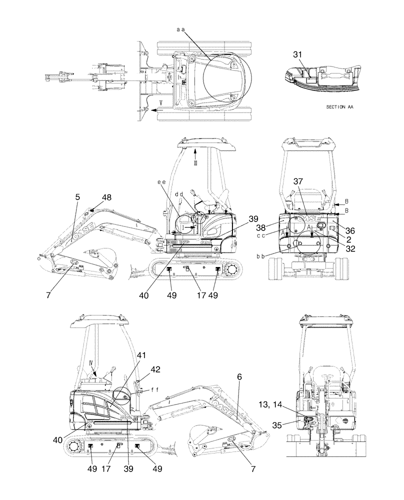
Запчасти Case CX17B (06-002[01]) - NAME PLATE INSTAL (90) - PLATFORM, CAB, BODYWORK AND DECALS

Схема запчастей Case CX17B - (06-002[01]) - NAME PLATE INSTAL (90) - PLATFORM, CAB, BODYWORK AND DECALS
36
37
5
7
2
49
49
14
35
38
49
42
6
39
17
32
31
49
40
40
41
48
13
7
17
39
FIT
1:1
100%

Артикул

Название

Примечание

Количество

PU22T00050F2

Name Plate Instal required (canopy) machine name

1шт.

36

PU20T01041P1

LABEL

, Serial Range: PU09-08003-PU09-09770

1шт.

37

PU22T00051P1

DECAL

, Serial Range: PU09-08003-PU09-09770

1шт.

38

PU20T01039P1

LABEL

, Serial Range: PU09-08003-PU09-09770

1шт.

39

PU22T00055P1

NAMEPLATE

, Serial Range: PU09-08003-PU09-09770

2шт.

39

PU22T00074P1

NAMEPLATE

, Start Serial: PU09-09771

2шт.

40

PF22T00012P1

LABEL

, Serial Range: PU09-08003-PU09-09770

2шт.

40

PU22T00073P1

NAMEPLATE

, Start Serial: PU09-09771

2шт.

41

PU20T01040P1

LABEL

, Serial Range: PU09-08003-PU09-09770

1шт.

PY20T01222P1

DECAL

"Eagle with Case Construction", Start Serial: PU09-09771

1шт.

PY22T00219P1

DECAL

"WWW.CASECE.COM", Start Serial: PU09-09771

1шт.

PU22T00050F8

Name Plate Instal required (warning) std

1шт.

2

PE20T01014P1

LABEL

1шт.

5

PM22T00055P1

NAMEPLATE

, Serial Range: PU09-08003-PU09-09770

1шт.

5

PV22T00160P1

NAMEPLATE

, Start Serial: PU09-09771

1шт.

6

PV22T00082P1

LABEL

, Serial Range: PU09-08003-PU09-09770

1шт.

6

PV22T00160P1

NAMEPLATE

, Start Serial: PU09-09771

1шт.

7

PE20T01012P1

DANGER DECAL

2шт.

13

PW20T01122P1

PLATE

, Serial Range: PU09-08003-PU09-09770

1шт.

13

PY20T01228P1

PLATE

, Start Serial: PU09-09771

1шт.

14

4020Z64

RIVET

4шт.

17

YN20T01813P1

LABEL

2шт.

31

YN20T01495P1

WARNING DECAL

1шт.

32

YN20T01012P1

CAUTION DECAL

1шт.

35

PU20T01031P1

DECAL

Label

1шт.

42

PU20T01034P1

LABEL

1шт.

48

YN20T01818P1

LABEL

3шт.

49

YN20T01819P1

LABEL

Label

4шт.

Выбрано товаров: 28