Запчасти Case CX17B (01-005[02]) - CYLINDER INSTAL (35) - HYDRAULIC SYSTEMS

Схема запчастей Case CX17B - (01-005[02]) - CYLINDER INSTAL (35) - HYDRAULIC SYSTEMS
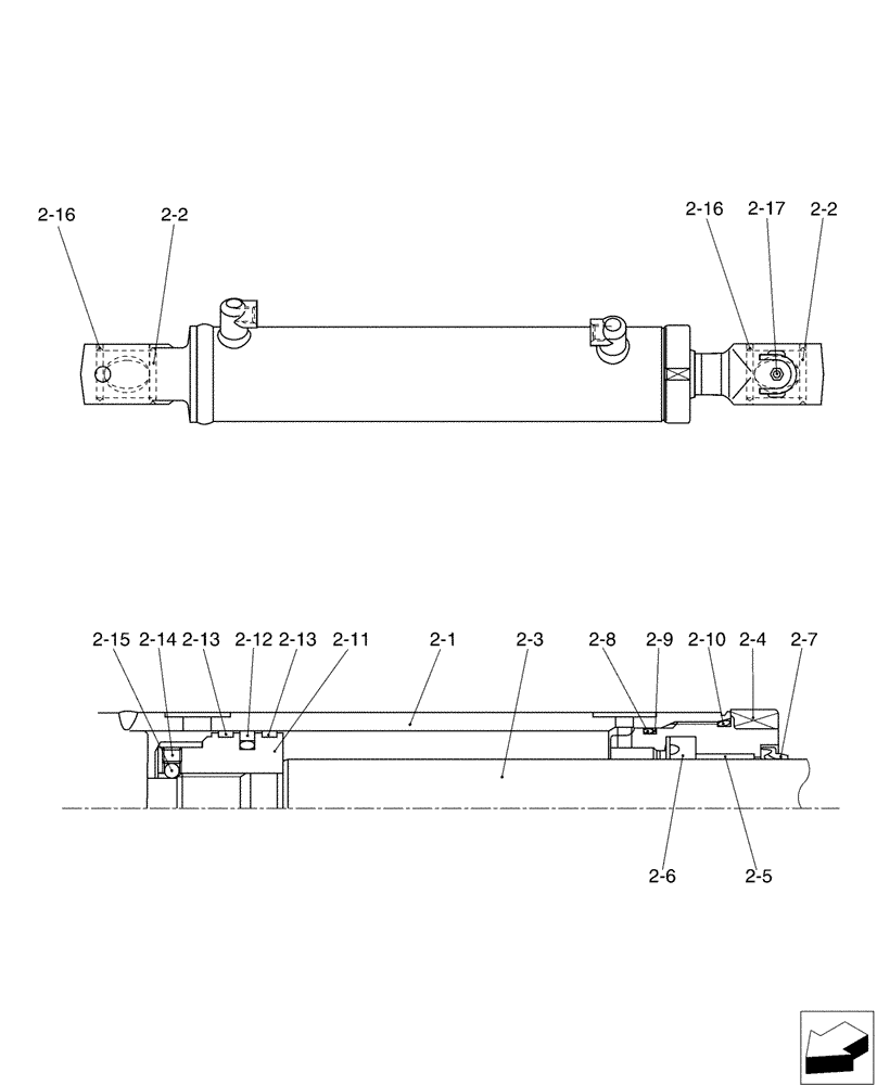
2-8
2-16
2-17
2-2
2-15
2-10
2-16
2-11
2-6
2-12
2-1
2-7
2-2
2-3
2-5
2-14
2-9
2-13
2-4
2-13
FIT
1:1
100%

Артикул

Название

Примечание

Количество

PU02B00100F1

Cylinder Instal

1шт.

2

PU01V00047F1

HYDRAULIC CYLINDER

Swing

1шт.

2-1

NSS

NOT SOLD SEPARAT

Tube Assy.

1шт.

2-2

PU01V00028S002

BUSHING

2шт.

2-3

NSS

NOT SOLD SEPARAT

Rod, Piston

1шт.

2-4

PU01V00047S004

CYLINDER HEAD

1шт.

2-5

PV01V00045S019

BUSHING

1шт.

2-6

PW01V00012S005

RING,37mm ID x 55mm OD x 11mm Thk

1шт.

2-7

PV01V00023S006

WIPER,33mm ID x 47mm OD x 8mm Thk

Ring

1шт.

2-8

ZD12G06000

O-RING,59.40mm ID x 65.60mm OD x 3.10mm

1шт.

2-9

PW01V00046S008

BACK-UP RING,62mm ID x 68mm OD x 2.5mm Thk

1шт.

2-10

ZD12G06500

O-RING,64.40mm ID x 70.60mm OD x 3.10mm

1шт.

2-11

PU01V00028S011

PISTON

1шт.

2-12

2438U1289S16

RING,48mm ID x 58mm OD x 5mm Thk

1шт.

2-13

PM01V00067S019

RING,51mm ID x 67mm OD x 3mm Thk

2шт.

2-14

2438U988S18

SET SCREW

1шт.

2-15

2438U988S19

BALL

1шт.

2-16

PR01V00001S024

GASKET

Seal, Dust

4шт.

2-17

PR01V00028S025

LUBE NIPPLE

Grease

1шт.

PU01V00047R100

REPAIR KIT

Includes Ref. 2-1(1), 2-2(1), 2-16(2)

1шт.

PU01V00047R200

REPAIR KIT

Includes Ref. 2-2(1), 2-3(1), 2-16(2)

1шт.

PU01V00028R300

REPAIR KIT

Includes Ref. 2-6(1), 2-7(1), 2-8(1), 2-9(1), 2-10(1), 2-12(1), 2-13(2)

1шт.

Выбрано товаров: 22