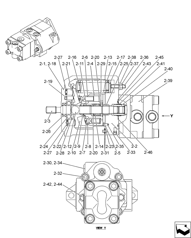
Запчасти Case CX17B (01-017[02]) - POWER TAKE-OFF ASSY (35) - HYDRAULIC SYSTEMS

Схема запчастей Case CX17B - (01-017[02]) - POWER TAKE-OFF ASSY (35) - HYDRAULIC SYSTEMS
2-31
2-27
2-23
2-32
2-33
2-7
2-22
2-19
2-12
2-46
2-9
2-30
2-26
2-2
2-18
2-38
2-40
2-21
2-42
2-8
2-16
2-27
2-10
2-45
2-25
2-39
2-15
2-20
2-34
2-24
2-6
2-17
2-3
2-28
2-11
2-36
2-43
2-20
2-4
2-29
2-13
2-1
2-35
2-44
2-41
2-5
2-37
2-14
FIT
1:1
100%

Артикул

Название

Примечание

Количество

PU30P00013F1

Power Take-Off Assy.

1шт.

2

PU10V00014F1

PUMP,7.4 CC

Hyd.

1шт.

2-1

NSS

NOT SOLD SEPARAT

Body

1шт.

2-2

NSS

NOT SOLD SEPARAT

Body

1шт.

2-3

PU10V00014S003

SHAFT

1шт.

2-4

NSS

NOT SOLD SEPARAT

Cylinder Barrel

1шт.

2-6

NSS

NOT SOLD SEPARAT

Piston

10шт.

2-7

NSS

NOT SOLD SEPARAT

Shoe

10шт.

2-8

NSS

NOT SOLD SEPARAT

Shoe Holder

1шт.

2-9

NSS

NOT SOLD SEPARAT

Barrel Holder

1шт.

2-10

PA10V00001S010

PLATE

1шт.

2-11

NSS

NOT SOLD SEPARAT

Needle

3шт.

2-12

NSS

NOT SOLD SEPARAT

Pin

2шт.

2-13

PA10V00001S013

PACKING

1шт.

2-14

NSS

NOT SOLD SEPARAT

Spring

1шт.

2-15

PU10V00014S015

SPRING

1шт.

2-16

PA10V00001S018

HOLDER

Spring

1шт.

2-17

PA10V00001S019

SPRING

1шт.

2-18

PV10V00001S020

PIN

1шт.

2-19

PM10V00011S021

ROD

1шт.

2-20

NSS

NOT SOLD SEPARAT

Retainer

2шт.

2-21

PU10V00014S025

STOP

1шт.

2-22

PU10V00014S026

STOP

1шт.

2-23

PW10V00011S027

PIN

1шт.

2-24

R25P0009D8

BALL BEARING,20mm ID x 42mm OD x 12mm W

1шт.

2-25

NSS

NOT SOLD SEPARAT

Bearing, Needle

1шт.

2-26

PA10V00001S032

GASKET

Oil Seal

1шт.

2-27

PA10V00001S033

WASHER

8шт.

2-28

NSS

NOT SOLD SEPARAT

Ring, Snap

1шт.

2-29

NSS

NOT SOLD SEPARAT

Ring, Snap

1шт.

2-30

ZD12P01100

O-RING

1шт.

2-31

NSS

NOT SOLD SEPARAT

O-Ring

2шт.

2-32

EC35V00001S008

SCREW

Bolt

4шт.

2-33

NSS

NOT SOLD SEPARAT

Plug

4шт.

2-34

PA10V00001S051

PLUG

1шт.

2-35

NSS

NOT SOLD SEPARAT

Pin, Spring

1шт.

2-36

YR10V00004S061

SCREW

Cap

1шт.

2-37

YR10V00004S062

NUT

1шт.

2-38

PR10V00002S062

WASHER

1шт.

2-39

PU10V00015F1

PUMP

Hyd.

1шт.

2-40

PR10V00002S066

COUPLING

1шт.

2-41

PU10V00014S067

COLLAR

1шт.

2-42

NSS

NOT SOLD SEPARAT

Bolt

2шт.

2-43

ZD12P00700

O-RING,1.6mm Thk x 6.8mm ID, 90 Duro

O-Ring

1шт.

2-44

PU10V00014S070

LOCK WASHER

2шт.

2-45

ZD12G05500

O-RING,3.1mm Thk x 54.4mm ID, 90 Duro

1шт.

2-46

ZD12P00800

O-RING,1.9mm Thk x 7.8mm ID, 90 Duro

1шт.

PU10V00014R100

REPAIR KIT

Includes Ref. 2-4(1), 2-5(1), 2-8(1), 2-9(1), 2-14(1), 2-29(1), 2-20(2), 2-11(3), 2-6(10), 2-7(10)

1шт.

PU10V00014R200

REPAIR KIT

Includes Ref. 2-13(1), 2-26(1), 2-30(1), 2-38(1), 2-43(1), 2-45(1), 2-46(1), 2-31(2), Serial Range: -(1)

1шт.

Выбрано товаров: 49