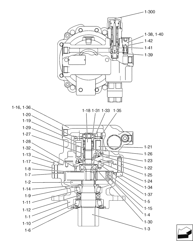
Запчасти Case CX17B (01-018[02]) - MOTOR INSTAL, SWING (35) - HYDRAULIC SYSTEMS

Схема запчастей Case CX17B - (01-018[02]) - MOTOR INSTAL, SWING (35) - HYDRAULIC SYSTEMS
1-10
1-31
1-22
1-17
1-25
1-29
1-6
1-4
1-36
1-33
1-2
1-8
1-40
1-3
1-39
1-5
1-1
1-41
1-30
1-35
1-7
1-14
1-21
1-42
1-15
1-19
1-37
1-32
1-300
1-24
1-38
1-12
1-11
1-20
1-13
1-34
1-9
1-16
1-26
1-18
1-27
1-28
1-23
FIT
1:1
100%

Артикул

Название

Примечание

Количество

PU32W00012F1

Motor Instal, Swing

1шт.

1

PU15V00019F1

MOTOR

Swing

1шт.

1-1

NSS

NOT SOLD SEPARAT

Body

1шт.

1-2

NSS

NOT SOLD SEPARAT

Carrier

1шт.

1-3

NSS

NOT SOLD SEPARAT

Shaft, Pinion

1шт.

1-4

NSS

NOT SOLD SEPARAT

Gear

3шт.

1-5

NSS

NOT SOLD SEPARAT

Bearing, Needle

54шт.

1-6

PU15V00019S113

RING

1шт.

1-7

ZD12G13500

O-RING,134.40mm ID x 140.60mm OD x 3.10mm

1шт.

1-8

PU15V00019S115

PLATE

2шт.

1-9

NSS

NOT SOLD SEPARAT

Collar

2шт.

1-10

NSS

NOT SOLD SEPARAT

Bearing

1шт.

1-11

NSS

NOT SOLD SEPARAT

Bearing

1шт.

1-12

NSS

NOT SOLD SEPARAT

Oil Seal

1шт.

1-13

PU15V00019S124

SCREW

Cap

4шт.

1-14

PU15V00019S128

RING

1шт.

1-15

NSS

NOT SOLD SEPARAT

Ring

3шт.

1-16

NSS

NOT SOLD SEPARAT

Body

1шт.

1-17

NSS

NOT SOLD SEPARAT

Plate

1шт.

1-18

NSS

NOT SOLD SEPARAT

Shaft

1шт.

1-19

NSS

NOT SOLD SEPARAT

Block, Cylinder

1шт.

1-20

NSS

NOT SOLD SEPARAT

Plate, Valve

1шт.

1-21

NSS

NOT SOLD SEPARAT

Piston

9шт.

1-22

NSS

NOT SOLD SEPARAT

Shoe

9шт.

1-23

NSS

NOT SOLD SEPARAT

Retainer, Shoe

1шт.

1-24

NSS

NOT SOLD SEPARAT

Holder, Barrel

1шт.

1-25

NSS

NOT SOLD SEPARAT

Plate, Shoe

1шт.

1-26

NSS

NOT SOLD SEPARAT

Retainer

2шт.

1-27

NSS

NOT SOLD SEPARAT

Pin

3шт.

1-28

PM15V00008S014

FILTER

2шт.

1-29

NSS

NOT SOLD SEPARAT

Spring

1шт.

1-30

25T817D17

BALL BEARING

1шт.

1-31

PR15V00004S074

BEARING

1шт.

1-32

ZD12G14000

O-RING,139.40mm ID x 145.60mm OD x 3.10mm

1шт.

1-33

ZR26X02800

RING

1шт.

1-34

ZS23C10035

SCREW,Hex Socket Head, M10 x 35mm

Cap

8шт.

1-35

ZP26D05012

PIN

Spring

1шт.

1-36

NSS

NOT SOLD SEPARAT

Pin

1шт.

1-37

PY15V00004S226

Pin

1шт.

1-38

NSS

NOT SOLD SEPARAT

Valve, Relief

2шт.

1-39

NSS

NOT SOLD SEPARAT

Valve, Check

2шт.

1-40

NSS

NOT SOLD SEPARAT

Plug

2шт.

1-41

NSS

NOT SOLD SEPARAT

Spring

2шт.

1-42

ZD12P01100

O-RING

2шт.

1-300

PU22V00001F1

VALVE

Relief

2шт.

PU15V00019R400

REPAIR KIT

Includes Ref. 1-1(1), 1-3(1), 1-6(1), 1-7(1), 1-10(1), 1-11(1), 1-12(1), 1-14(1), 1-9(2)

1шт.

PU15V00019R410

ZERO DETANT KIT

VALVE KIT Repair Kit, Includes Ref. 1-16(1), 1-31(1), 1-32(1), 1-35(1), 1-39(2), 1-40(2), 1-41(2), 1-42(2)

1шт.

PU15V00019R420

REPAIR KIT

Includes Ref. 1-19(1), 1-20(1), 1-23(1), 1-24(1), 1-29(1), 1-33(1), 1-26(2), 1-27(3), 1-21(9), 1-22(9)

1шт.

PU15V00019R430

KIT

Repair Kit, Includes Ref. 1-15(1), 1-37(1)

1шт.

PU15V00019R440

O-RING KIT

Repair Kit, Includes Ref. 1-32(1),1-42(2)

1шт.

PU15V00019R450

CARRIER

Repair Kit, Includes Ref. 1-2(1), 1-8(2), 1-4(3), 1-15(3), 1-5(54)

1шт.

Выбрано товаров: 51