Запчасти Case CX17B (01-020[11]) - VALVE INSTAL (35) - HYDRAULIC SYSTEMS

Схема запчастей Case CX17B - (01-020[11]) - VALVE INSTAL (35) - HYDRAULIC SYSTEMS
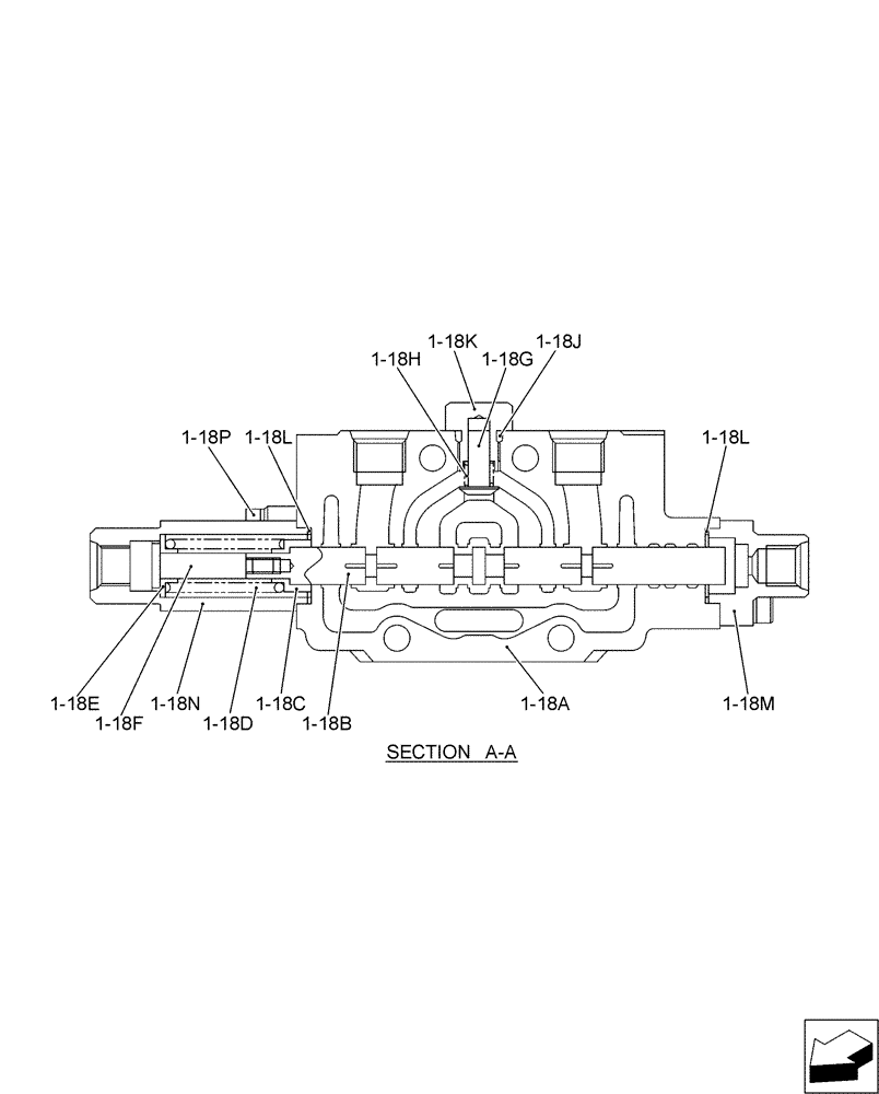
1-18j
1-18l
1-18h
1-18k
1-18b
1-18d
1-18n
1-18m
1-18c
1-18g
1-18f
1-18e
1-18p
1-18a
1-18l
FIT
1:1
100%

Артикул

Название

Примечание

Количество

PU64H00028F1

Valve Instal

1шт.

1

PU30V00017F2

CONTROL VALVE

1шт.

1-18

PU30V00019F2

CONTROL VALVE

1шт.

1-18a

NSS

NOT SOLD SEPARAT

Body

1шт.

1-18b

NSS

NOT SOLD SEPARAT

Spool

1шт.

1-18c

NSS

NOT SOLD SEPARAT

Spring, Seat

1шт.

1-18d

NSS

NOT SOLD SEPARAT

Spring

1шт.

1-18e

NSS

NOT SOLD SEPARAT

Spring, Seat

1шт.

1-18f

NSS

NOT SOLD SEPARAT

End, Spool

1шт.

1-18g

PH30V00003S006

POPPET

1шт.

1-18h

PH30V00003S007

SPRING

1шт.

1-18j

ZD12P01100

O-RING

1шт.

1-18k

PH30V00003S009

PLUG

1шт.

1-18l

PW30V01008S011

O-RING

2шт.

1-18m

PM30V00021S012

COVER

1шт.

1-18n

PM30V00021S013

COVER

1шт.

1-18p

PM30V00021S014

SCREW

Cap

4шт.

PU30V00019R200

REPAIR KIT

Consists of Ref. 1-18B (1), 1-18C (1), 1-18D (1), 1-18E (1), 1-18F (1)

1шт.

Выбрано товаров: 18