Запчасти Case CX20B (5.0088[04]) - ARM CYLINDER HYD LINES (SAFETY VALVE) - 747940070, 747940080 (35) - HYDRAULIC SYSTEMS

Схема запчастей Case CX20B - (5.0088[04]) - ARM CYLINDER HYD LINES (SAFETY VALVE) - 747940070, 747940080 (35) - HYDRAULIC SYSTEMS
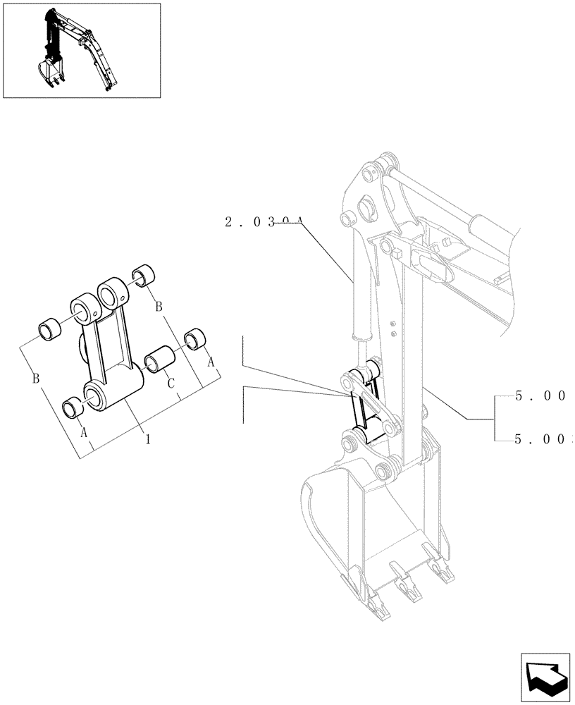
5.0022
c
b
a
1
5.0038
b
a
2.030a
FIT
1:1
100%

Артикул

Название

Примечание

Количество

1

87698579

LINK

1шт.

1a

72952251

BUSHING

2шт.

1b

72282518

BUSHING

1шт.

1c

72952568

COLLAR

2шт.

Выбрано товаров: 4