Запчасти Case CX20B (HC930-01[1]) - JOINT ASSY, SWIVEL (35) - HYDRAULIC SYSTEMS

Схема запчастей Case CX20B - (HC930-01[1]) - JOINT ASSY, SWIVEL (35) - HYDRAULIC SYSTEMS
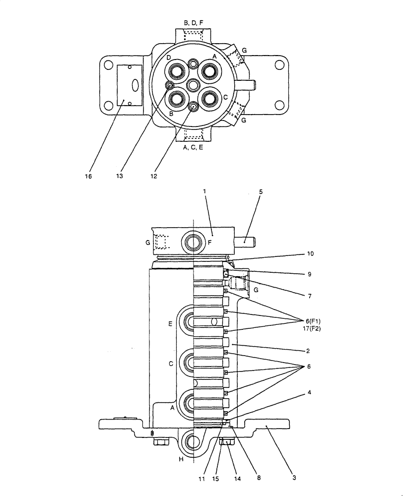
15
14
5
6
7
1
12
17
8
13
3
4
9
6
16
11
2
10
FIT
1:1
100%

Артикул

Название

Примечание

Количество

1/17

72282282

HYDRAULIC SWIVEL

1шт.

1

72961461

SHAFT

1шт.

2

72961462

ROTOR

1шт.

3

72281620

FLANGE

1шт.

4

72957087

RING

1шт.

5

72957088

PIN

1шт.

6

72957089

SEAL

4шт.

7

72211859

GASKET

1шт.

8

72961464

O-RING

1шт.

9

72961484

RING

1шт.

10

72961465

SEAL

1шт.

11

72957140

RING

1шт.

12

72210250

PLUG

2шт.

13

72961466

PLUG

1шт.

14

72210248

SCREW,Hex Socket Head, M8 x 20mm

4шт.

15

72954905

WASHER

4шт.

16

NS

NOT SERVICED

1шт.

17

72281621

SEAL

3шт.

Выбрано товаров: 18