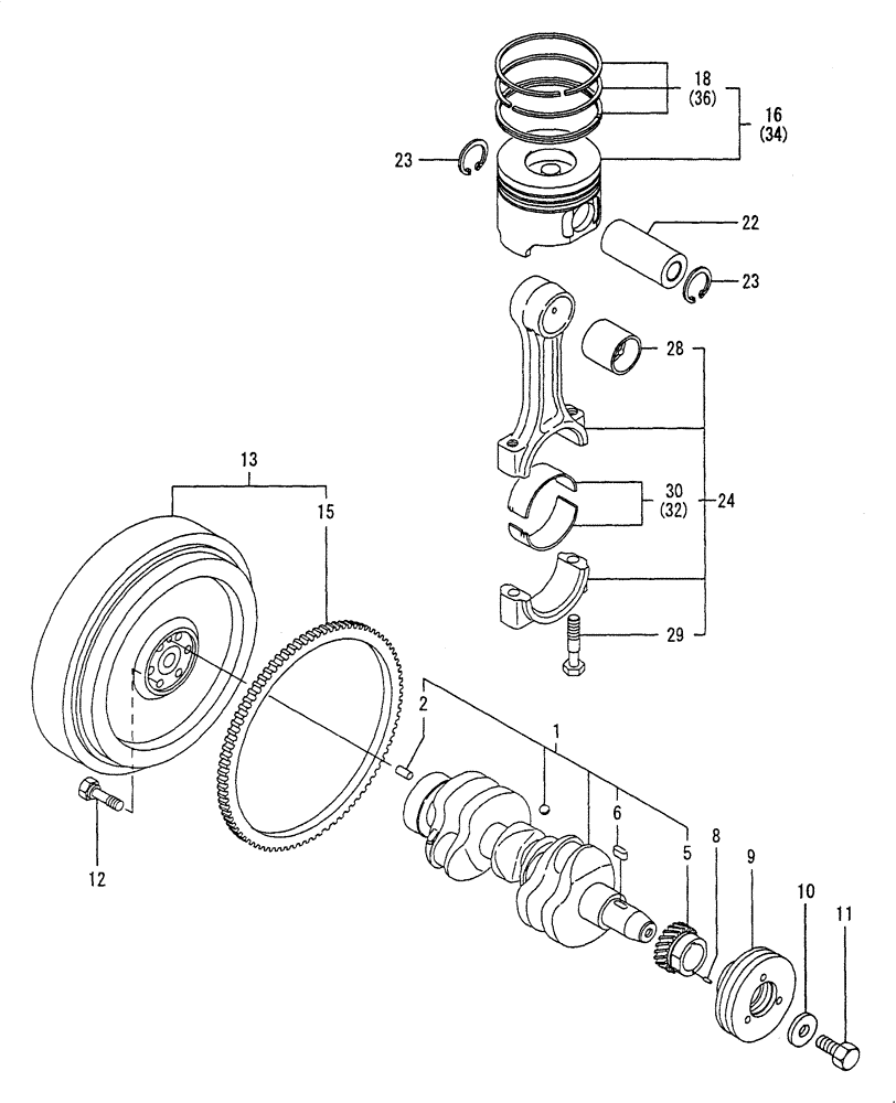
Запчасти Case CX20B (ENGINE-08[1]) - CRANKSHAFT & PISTON (10) - ENGINE

Схема запчастей Case CX20B - (ENGINE-08[1]) - CRANKSHAFT & PISTON (10) - ENGINE
18
32
23
5
29
1
36
22
30
24
9
13
16
10
34
11
2
28
12
23
6
15
8
FIT
1:1
100%

Артикул

Название

Примечание

Количество

-

72282844

SET OF PARTS

1шт.

1

72282845

CRANKSHAFT

1шт.

2

72959194

PIN,M8 x 16mm

8x16

1шт.

5

72280372

GEAR

1шт.

6

72959243

KEY,M7 x 14mm

7x14

1шт.

8

72275491

PIN

3x10

1шт.

9

72282846

PULLEY

1шт.

10

72959252

WASHER

1шт.

11

72959253

BOLT

1шт.

12

72959254

SCREW

6шт.

13

72282847

FLYWHEEL

1шт.

15

72959256

GEAR

1шт.

16

72282848

PISTON

3шт.

18

72282849

RING

3шт.

22

72282850

PIN

3шт.

23

72282851

CIRCLIP

23

6шт.

24

72282852

ROD

3шт.

28

72282853

BUSHING

3шт.

29

72282854

BOLT

6шт.

30

72282855

BEARING

3шт.

32

72282856

ROLLER BEARING

US=0.25

3шт.

34

72282857

PISTON

OS=0.25

3шт.

36

72282858

RING

OS=0.25

3шт.

Выбрано товаров: 23