Запчасти Case CX20B (550-01[1]) - BOOM PIPING (CANOPY) (35) - HYDRAULIC SYSTEMS

Схема запчастей Case CX20B - (550-01[1]) - BOOM PIPING (CANOPY) (35) - HYDRAULIC SYSTEMS
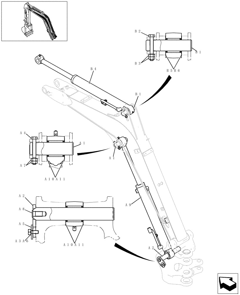
b2
a10a11
b1
a8
a5
a2
a1
b3
a4
a10a11
a9
b4
a3a6
a2
a7
b5b6
a1
b1
FIT
1:1
100%

Артикул

Название

Примечание

Количество

-

72282487

- ASSY

1шт.

a1/a11

72282488

HYDRAULIC CYLINDER

1шт.

a1

72282489

PIN

1шт.

a2

72282490

PIN

1шт.

FROM S/N PM07-07001

1шт.

UP TO S/N PM07-07304

1шт.

a2

87361050

1шт.

FROM S/N PM07-07305

1шт.

a3

47045383

SCREW

1шт.

a4

72950477

SCREW

1шт.

a5

72950364

WASHER

1шт.

a6

72951762

LOCK WASHER

1шт.

a7

72211310

NUT

2шт.

a8

72281239

CAP

1шт.

a9

72282492

HYDRAULIC CYLINDER

1шт.

UP TO S/N PM07-07309

1шт.

FROM S/N PM07-07001

1шт.

a9

72285839

CYLINDER

1шт.

FROM S/N PM07-07310

1шт.

a10

72281403

SHIM,42mm ID x 65mm OD x 0.90mm Thk

2шт.

a11

72950988

SHIM

3шт.

b1/b6

72282493

HYDRAULIC CYLINDER

1шт.

b1

72282494

PIN

1шт.

b2

72952054

SCREW

1шт.

b3

72211310

NUT

2шт.

b4

72282495

HYDRAULIC CYLINDER

1шт.

UP TO S/N PM07-07309

1шт.

FROM S/N PM07-07001

1шт.

b4

72286163

CYLINDER

1шт.

FROM S/N PM07-07310

1шт.

b5

72952545

SHIM,37mm ID x 60mm OD x 0.5mm Thk

1шт.

b6

72952546

SHIM,37mm ID x 60mm OD x 0.9mm Thk

2шт.

Выбрано товаров: 32