Запчасти Case CX20B (HC770-01[1]) - CYLINDER ASSY, SWING (35) - HYDRAULIC SYSTEMS

Схема запчастей Case CX20B - (HC770-01[1]) - CYLINDER ASSY, SWING (35) - HYDRAULIC SYSTEMS
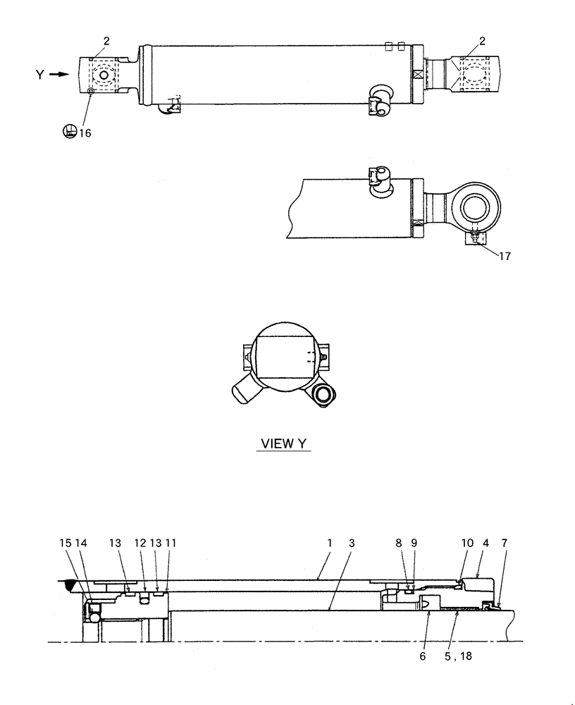
2
18
13
14
13
11
17
10
4
7
1
9
12
5
6
16
5
3
2
15
FIT
1:1
100%

Артикул

Название

Примечание

Количество

1/902

72281425

HYDRAULIC CYLINDER

1шт.

1/902

87352863

1шт.

1

NS

NOT SERVICED

1шт.

2

72961335

BUSHING

2шт.

3

NS

NOT SERVICED

1шт.

4

72280236

CYLINDER HEAD

1шт.

5

72280224

BUSHING

1шт.

Only for P/N 72281425

1шт.

6

72950403

RING

1шт.

7

72950584

RING

1шт.

8

72957907

O-RING

1шт.

9

72957924

RING

1шт.

10

72209816

O-RING

1шт.

11

72282787

PISTON

1шт.

12

72957920

RING

1шт.

13

72957925

RING

2шт.

14

72950401

SET SCREW

1шт.

15

72950400

BALL

1шт.

16

72961301

SEAL

4шт.

17

72283870

LUBE NIPPLE

1шт.

18

72285818

BUSHING

1шт.

Only for P/N 87352863

1шт.

900

72282788

REPAIR KIT

- ASSY SEE 1, 2, 16

1шт.

901

72282789

REPAIR KIT

- ASSY SEE 2, 3, 16

1шт.

902

72280241

REPAIR KIT

- ASSY SEE 6-10, 12, 13

1шт.

Выбрано товаров: 25