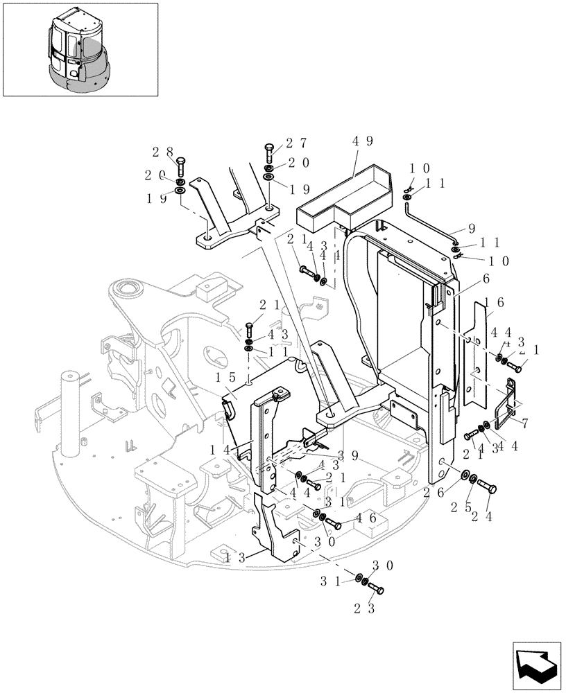
Запчасти Case CX22B (1.300[04]) - GUARDS - CAB (90) - PLATFORM, CAB, BODYWORK AND DECALS

Схема запчастей Case CX22B - (1.300[04]) - GUARDS - CAB (90) - PLATFORM, CAB, BODYWORK AND DECALS
21
43
19
44
39
31
15
28
43
49
21
43
14
6
16
13
43
11
21
21
30
11
26
25
10
21
11
9
19
43
31
23
46
24
44
7
10
27
44
44
20
30
20
FIT
1:1
100%

Артикул

Название

Примечание

Количество

6

72282114

SUPPORT

1шт.

See Page 1.300 12

1шт.

7

72286222

STRIKER PLATE

1шт.

9

72285671

STAY

1шт.

10

72275189

COTTER PIN

2шт.

11

14496521

WASHER,8.4mm ID x 17mm OD x 1.6mm Thk

4шт.

13

72282169

PILLAR

1шт.

14

87553760

PILLAR

1шт.

15

87545235

PLATE

1шт.

See Page 1.300 13

1шт.

16

87545240

PLATE

1шт.

See Page 1.300 14

1шт.

19

13550521

WASHER,12.2mm ID x 24mm OD x 3mm Thk

Ø12

2шт.

20

10571979

LOCK WASHER,M12

2шт.

21

16043434

BOLT,Hex, M8 x 1.25 x 20mm, Cl 10.9, Full Thd

12шт.

23

11106434

BOLT,Hex, M10 x 30mm, Cl 10.9, Full Thd

2шт.

24

11118934

BOLT,Hex, M16 x 50mm, Cl 10.9

TE M16x50

2шт.

25

10572179

LOCK WASHER,M16

2шт.

26

13580121

WASHER,16.4mm ID x 32mm OD x 4mm Thk

Ø16

2шт.

27

11112834

BOLT,Hex, M12 x 40mm, Cl 10.9, Full Thd

1шт.

28

11113234

BOLT,Hex, M12 x 50mm, Cl 10.9

TE M8x50

1шт.

30

10571879

LOCK WASHER,10.2mm ID x 18.1mm OD x 2.2mm Thk

2шт.

31

12626221

WASHER,10mm ID x 25mm OD x 3mm Thk

Ø10

4шт.

39

72285675

BRACKET

1шт.

43

10571779

LOCK WASHER,Helical Spring, 8.10mm ID x 14.80mm OD x 2.00mm, ZNM

12шт.

44

12647021

WASHER,8.15mm ID x 25mm OD x 2.5mm Thk

Ø8

8шт.

46

11106634

BOLT,Hex, M10 x 35mm, Cl 10.9, Full Thd

2шт.

49

72282180

BOX

1шт.

Выбрано товаров: 0