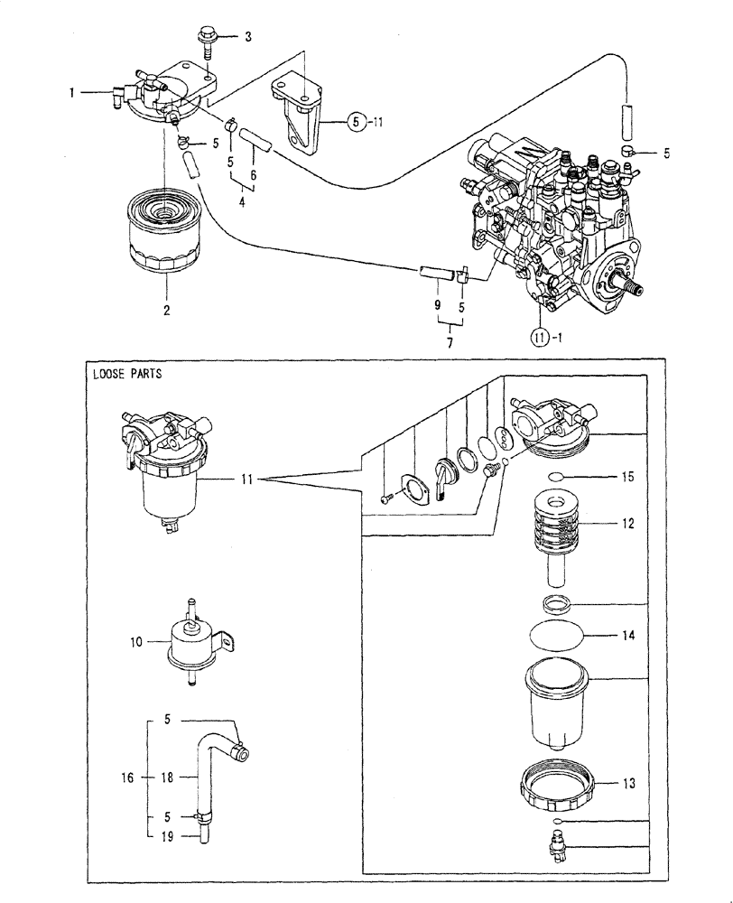
Запчасти Case CX22B (ENGINE-13[1]) - FUEL LINE (10) - ENGINE

Схема запчастей Case CX22B - (ENGINE-13[1]) - FUEL LINE (10) - ENGINE
11
1
10
4
7
13
16
9
3
6
15
5
12
5
5
5
14
2
5
5
18
19
FIT
1:1
100%

Артикул

Название

Примечание

Количество

-

72282908

SET OF PARTS

- ASSY

1шт.

1

72280419

BRACKET

1шт.

2

72280422

FUEL FILTER

1шт.

3

72280423

BOLT,M8 x 30mm

M8x30

2шт.

4

72282909

PIPE

1шт.

5

72282910

CLAMP

12

6шт.

6

72282911

RIGID TUBE

1шт.

7

72282912

PIPE

1шт.

8

NS

NOT SERVICED

2шт.

9

72282914

RIGID TUBE

1шт.

10

72280608

FUEL PUMP

1шт.

11

72280600

SEPARATOR

1шт.

12

72280430

COOLANT FILTER

1шт.

13

72961895

RING

1шт.

14

72961981

O-RING

1A G-65.0

1шт.

15

72959175

O-RING

1A P-16.0

1шт.

16

72282915

TUBE

1шт.

17

NS

NOT SERVICED

2шт.

18

72282917

TUBE

1шт.

19

72282918

FLEXIBLE JOINT

1шт.

Выбрано товаров: 20