Запчасти Case CX22B (HC700-01[1]) - CYLINDER BUCKET (35) - HYDRAULIC SYSTEMS

Схема запчастей Case CX22B - (HC700-01[1]) - CYLINDER BUCKET (35) - HYDRAULIC SYSTEMS
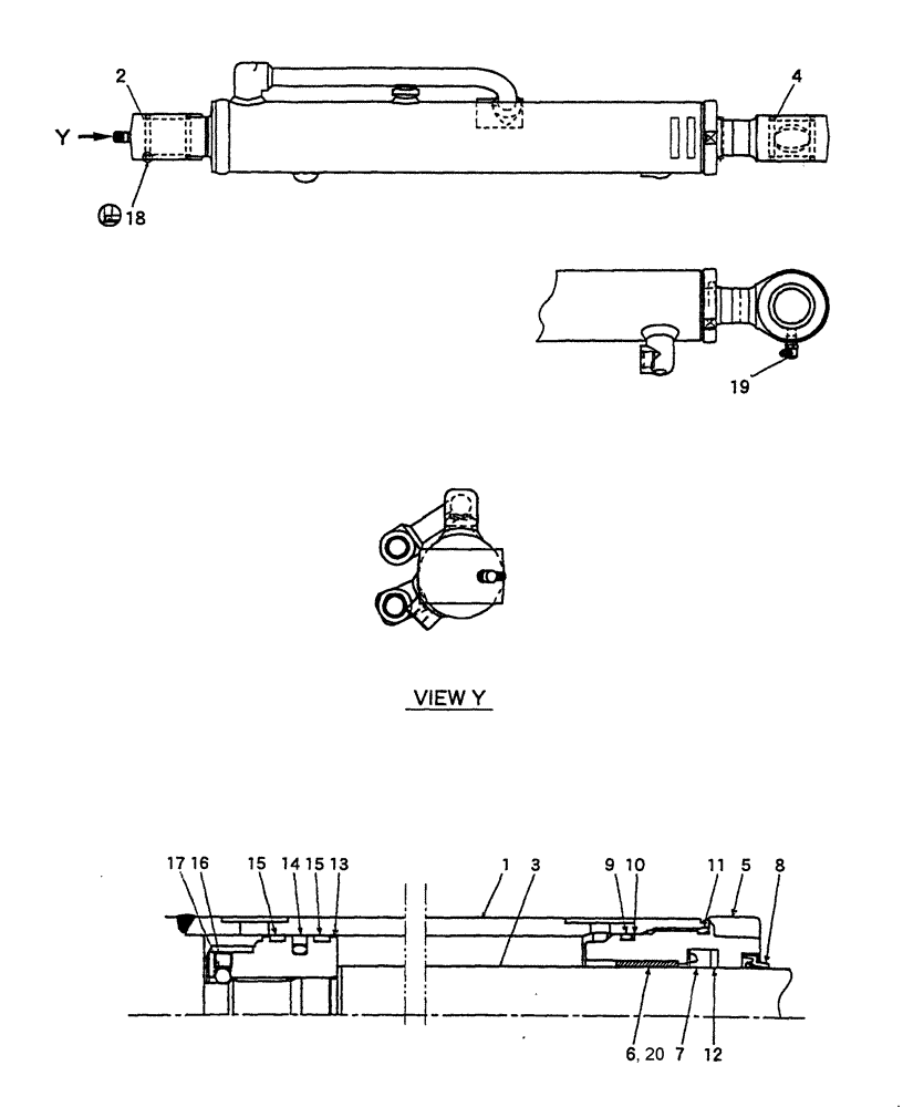
6
9
20
3
1
10
8
11
15
4
7
12
18
17
15
19
14
5
16
2
13
FIT
1:1
100%

Артикул

Название

Примечание

Количество

1/902

72282525

HYDRAULIC CYLINDER

1шт.

1/902

72285833

HYDRAULIC CYLINDER

1шт.

1

NS

NOT SERVICED

2шт.

2

72282771

BUSHING

1шт.

3

NS

NOT SERVICED

1шт.

4

72282772

BUSHING

1шт.

5

72282773

HYDRAULIC CYLINDER

1шт.

6

72961204

BUSHING

1шт.

Only for P/N 72282525

1шт.

7

72275671

SEAL

1шт.

8

72957716

SEALING RING,33mm ID x 47mm OD x 8mm Thk

1шт.

9

72950285

O-RING

1шт.

10

72282775

RING

1шт.

11

72960987

O-RING,3.1mm Thk x 54.4mm ID, 90 Duro

1шт.

12

72282776

RING

1шт.

13

72282777

PISTON

1шт.

14

72961304

SEAL

SEALRING

1шт.

15

72282778

SLIDE

2шт.

16

72957674

SET SCREW

1шт.

17

72952036

BALL

1шт.

18

72961301

SEAL

4шт.

19

72283870

LUBE NIPPLE

2шт.

20

72285835

BUSHING

1шт.

Only for P/N 72285833

1шт.

900

72282779

REPAIR KIT

- ASSY SEE 1, 2, 18

1шт.

901

72282780

REPAIR KIT

- ASSY SEE 3, 4, 18

1шт.

902

72282781

REPAIR KIT

- ASSY SEE 7-12, 14, 15

1шт.

Выбрано товаров: 27