Запчасти Case CX22B (HC820-01[1]) - PILOT VALVE - COMPONENTS (PROPELLING - DOZER) (35) - HYDRAULIC SYSTEMS

Схема запчастей Case CX22B - (HC820-01[1]) - PILOT VALVE - COMPONENTS (PROPELLING - DOZER) (35) - HYDRAULIC SYSTEMS
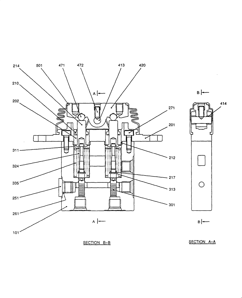
212
313
261
501
335
101
420
214
414
301
472
217
413
271
210
324
251
202
311
201
471
FIT
1:1
100%

Артикул

Название

Примечание

Количество

101/501

72280275

PILOT VALVE

1шт.

101

NS

NOT SERVICED

1шт.

201

NS

NOT SERVICED

1шт.

202

72280276

PLUG

2шт.

210

72957707

PACKING

2шт.

212

72216211

GASKET,13.5mm ID x 20.5mm OD x 1mm Thk

2шт.

214

NS

NOT SERVICED

2шт.

217

NS

NOT SERVICED

2шт.

251

72209843

PLUG

1шт.

261

72283080

O-RING

1шт.

271

72211302

SCREW,Hex Socket Head, M6 x 16mm

2шт.

301

NS

NOT SERVICED

2шт.

311

NS

NOT SERVICED

2шт.

313

NS

NOT SERVICED

2шт.

324

NS

NOT SERVICED

2шт.

335

NS

NOT SERVICED

2шт.

413

NS

NOT SERVICED

1шт.

414

NS

NOT SERVICED

2шт.

420

NS

NOT SERVICED

1шт.

471

NS

NOT SERVICED

2шт.

472

72957678

SET SCREW

1шт.

501

NS

NOT SERVICED

1шт.

Выбрано товаров: 22