Запчасти Case CX27B (03-005) - CYLINDER INSTAL (CAB) (35) - HYDRAULIC SYSTEMS

Схема запчастей Case CX27B - (03-005) - CYLINDER INSTAL (CAB) (35) - HYDRAULIC SYSTEMS
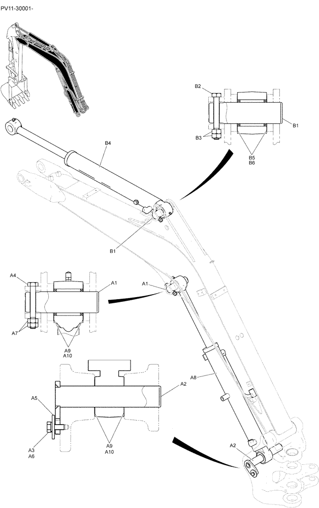
a1
a1
a2
a10
b4
a6
a8
a2
b1
b6
a4
a7
a10
a5
a9
b2
b1
b5
b3
a9
a3
FIT
1:1
100%

Артикул

Название

Примечание

Количество

CYLINDER INSTAL (PV02B00155F1)

1шт.

a1

PM02B01321P1

PIN,40mm OD x 138mm L

1шт.

a2

PM02B01322P3

PIN

PIN

1шт.

a3

ZS18C10020

SCREW,Hex, M10 x 20mm

1шт.

a4

HS18C10080G3

BOLT

1шт.

a5

2418T21137

WASHER

1шт.

a6

ZW26X10000

LOCK WASHER

1шт.

a7

ZN18C10008

NUT

2шт.

a8

PV01V00064F1

CYLINDER,Double Acting, 40mm Rod, 455mm Stroke

CYLINDER, BOOM

1шт.

SEE (C.P.M)

1шт.

a9

PR02B01123D1

SHIM,0.9mm Thk

2шт.

a10

PR02B01107P1

SHIM,0.5mm Thk

3шт.

CYLINDER INSTAL (PV02B00154F1)

1шт.

b1

PM02B01321P1

PIN,40mm OD x 138mm L

1шт.

b2

HS18C10080G3

BOLT

1шт.

b3

ZN18C10008

NUT

2шт.

b4

PV01V00062F1

CYLINDER

CYLINDER, ARM

1шт.

SEE (C.P.M)

1шт.

b5

PR02B01123D1

SHIM,0.9mm Thk

1шт.

b6

PR02B01107P1

SHIM,0.5mm Thk

2шт.

Выбрано товаров: 20