Качественные детали и логистика
Оригинальные и аналоговые запчасти с доставкой по России, Казахстану и Беларуси
©2022 PartSell ООО "Система" ИНН 2463123282 ОГРН 1212400004838
Центральный офис: г. Красноярск, Академика Киренского, д.87, пом.4
Телефон: 8 (800) 777-65-74 Email: zakaz@partsell.ru
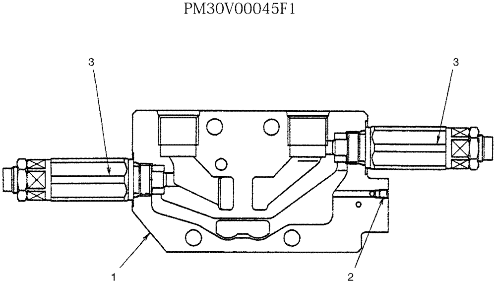
(07-007) - VALVE ASSY, CONTROL (INLET)
№
Артикул
Название
Примечание
Количество
PM30V00045F1
VALVE
ASSY, CONTROL
1шт.
1
PX30V00055S001
BODY
2
2436U1317S22
PLUG
3
PX22V00004F2
VALVE PRESSURE RELIE
(SEE FIG. 018)
2шт.
Выбрано товаров: 0