Запчасти Case CX27B (07-023) - PUMP ASSY P/N PM10V00017F1 (35) - HYDRAULIC SYSTEMS

Схема запчастей Case CX27B - (07-023) - PUMP ASSY P/N PM10V00017F1 (35) - HYDRAULIC SYSTEMS
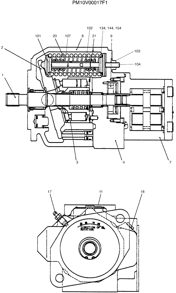
3
134
144
9
17
104
103
21
8
4
11
107
1
20
154
18
7
2
101
102
FIT
1:1
100%

Артикул

Название

Примечание

Количество

PM10V00017F1

HYDRAULIC PUMP

ASSY

1шт.

1

PM10V01001F1

SHAFT ASSY.

(SEE FIG. 07-024)

1шт.

2

PM10V01007F1

PLATE ASSY.

(SEE FIG. 07-025)

1шт.

3

PM10V01003F1

ROTOR ASSY.

(SEE FIG. 07-026)

1шт.

4

PM10V01008F1

COVER ASSY

(SEE FIG. 07-027)

1шт.

7

PM10V00020F1

GEARBOX ASSY

(SEE FIG. 07-029)

1шт.

8

PM10V01010F1

HOUSING ASSY.

1шт.

9

PX10V00015F1

PUMP

(SEE FIG. 07-028)

1шт.

11

EN10V00005S030

IDENTITY PLATE

1шт.

17

PY10V00007S017

BREATHER

1шт.

18

2441U720S49

PLUG

1шт.

20

PM10V00017S020

SPRING

1шт.

21

PM10V00017S021

SPRING

1шт.

101

PM10V01005S001

SPRING SEAT

1шт.

102

PM10V01005S002

SPRING SEAT

1шт.

103

PM10V01005S003

NUT

1шт.

104

ZS83C08025

SCREW

1шт.

107

PM10V01005S007

GUIDE

1шт.

134

PW10V00001S048

SHIM,1.0mm Thk

2шт.

144

PW10V00001S047

SHIM,0.5mm Thk

2шт.

154

PM10V01005S054

SHIM,0.3mm Thk

2шт.

Выбрано товаров: 21