Качественные детали и логистика
Оригинальные и аналоговые запчасти с доставкой по России, Казахстану и Беларуси
©2022 PartSell ООО "Система" ИНН 2463123282 ОГРН 1212400004838
Центральный офис: г. Красноярск, Академика Киренского, д.87, пом.4
Телефон: 8 (800) 777-65-74 Email: zakaz@partsell.ru
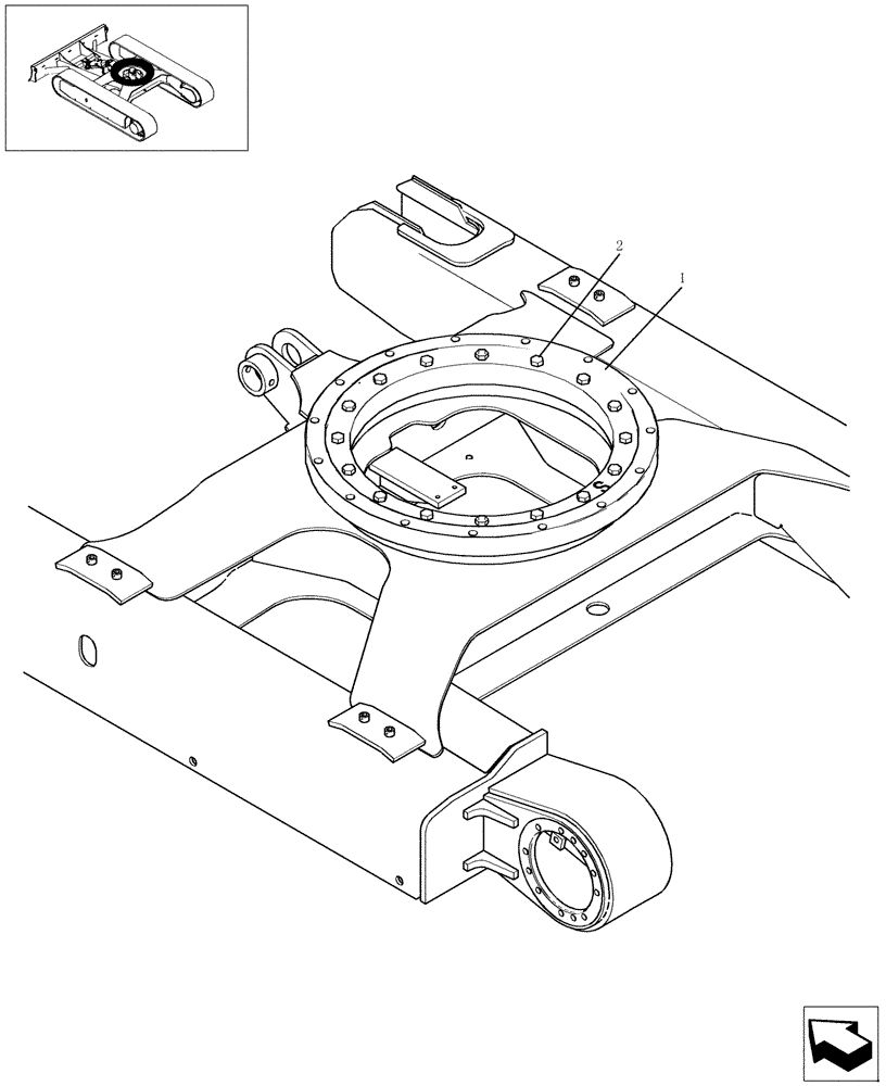
(340-01[1]) - LOWER FRAME
№
Артикул
Название
Примечание
Количество
1/2
72281455
RING
1шт.
1
72283088
SLEWING RING
2
72951708
SCREW
16шт.
Выбрано товаров: 0