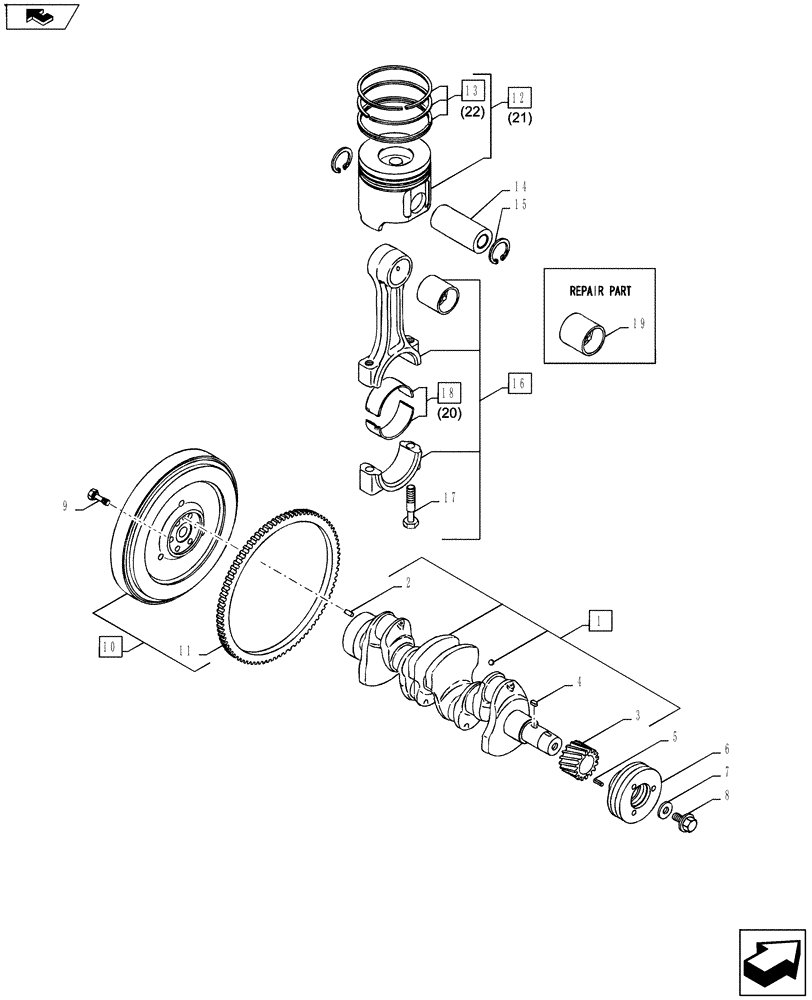
Запчасти Case CX27B ASN (10.103.02) - CRANKSHAFT AND PISTON (10) - ENGINE

Схема запчастей Case CX27B ASN - (10.103.02) - CRANKSHAFT AND PISTON (10) - ENGINE
home
3
13
15
8
5
16
4
9
12
7
2
17
14
11
6
19
18
10
1
FIT
1:1
100%

Артикул

Название

Примечание

Количество

1

VV12960421000

CRANKSHAFT

Includes Ref. 2-4

1шт.

2

VV12910001580

PIN,M8 x 16mm

Parallel

1шт.

3

VV11980321200

GEAR

Crankshaft

1шт.

4

VV22512070140

KEY,M7 x 14mm

7X14

1шт.

5

VV22351030010

PIN

3X10

1шт.

6

VV11980221650

PULLEY

Crankshaft

1шт.

7

VV12979521661

WASHER

1шт.

8

VV12185021680

BOLT

V-Pulley

1шт.

9

VV12111121501

BOLT

Flywheel

6шт.

10

VV12948921590

FLYWHEEL

Includes Ref. 11

1шт.

11

VV11986521600

GEAR

Ring

1шт.

12

VV12900522080

PISTON ASSY

Includes Ref. 13

4шт.

13

VV12900522500

PISTON RING SET

4шт.

14

VV12920222300

PISTON PIN

Piston (D26, L70)

4шт.

15

VV22252000260

CIRCLIP

26

8шт.

16

VV72940223100

ROD

Connecting, Includes Ref. 17-18

4шт.

17

VV12155023200

BOLT

Connecting Rod

8шт.

18

VV12915023601

PIN

Crank

4шт.

19

VV12910023910

BUSHING

Piston Pin

4шт.

Repair Part

1шт.

20

VV12915023611

PLATE

U.S=0.25

4шт.

Under-Size (U.S=0.25) Part

1шт.

21

VV12900522900

PISTON

O.S=0.25, Includes Ref. 22

4шт.

Over-Size (U.S=0.25) Part

1шт.

22

VV12900522950

RING

Piston 0.25

4шт.

Over-Size (U.S=0.25) Part

1шт.

Выбрано товаров: 26