Запчасти Case CX27B ASN (35.322.05) - HYD LINES, UPPER (NIBBLER AND BREAKER) (35) - HYDRAULIC SYSTEMS

Схема запчастей Case CX27B ASN - (35.322.05) - HYD LINES, UPPER (NIBBLER AND BREAKER) (35) - HYDRAULIC SYSTEMS
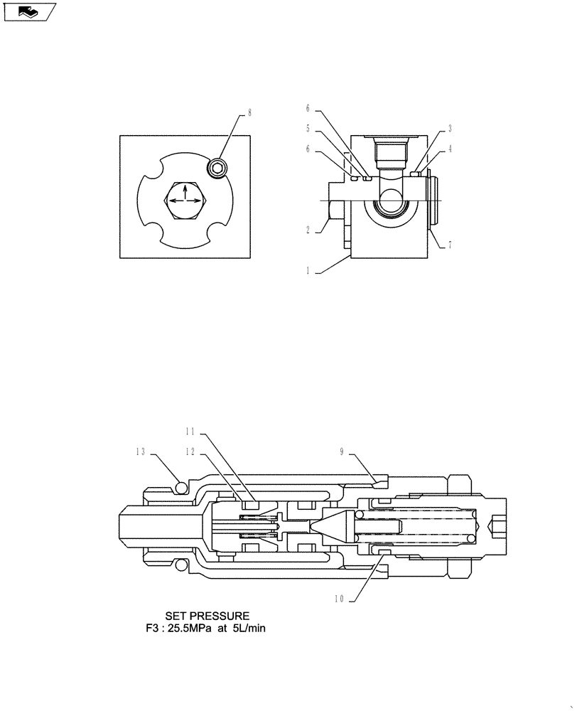
1
6
home
8
9
12
10
5
6
2
11
7
3
13
4
FIT
1:1
100%

Артикул

Название

Примечание

Количество

Hyd Lines, Upper (Nibbler & Breaker) PM03H00019F1

1шт.

1

PA30V01011P1

BODY

1шт.

2

PA30V01012P1

SHAFT

1шт.

3

ZD12G02500

O-RING,24.40mm ID x 30.60mm OD x 3.10mm

1шт.

4

ZD75G02500

BACK-UP RING

1шт.

5

ZD85P02100

RING

Back-Up

1шт.

6

ZD12P02100

O-RING,2.4mm Thk x 20.8mm ID, 90 Duro

O-Ring

2шт.

7

ZR16X02500

RING

Snap

1шт.

8

ZS28C06010

CAPSCREW,Hex Socket Head, M6 x 10mm

1шт.

9

ZD12P01500

O-RING

1шт.

10

2436R612S13

O-RING

1шт.

11

PH22V00003S013

O-RING

2шт.

12

PH22V00003S014

BACK-UP RING

2шт.

13

ZD12P01400

O-RING

1шт.

Выбрано товаров: 14