Запчасти Case CX27B BTW (07-033) - CYLINDER ASSY, BUCKET (PV01V00063F1) (35) - HYDRAULIC SYSTEMS

Схема запчастей Case CX27B BTW - (07-033) - CYLINDER ASSY, BUCKET (PV01V00063F1) (35) - HYDRAULIC SYSTEMS
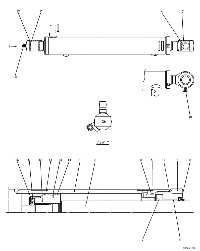
9
15
18
1
2
6
4
7
14
16
5
13
17
8
12
3
14
11
18
17
10
FIT
1:1
100%

Артикул

Название

Примечание

Количество

CYLINDER ASSY, BUCKET, PV01V00063F1

1шт.

1

NSS

NOT SOLD SEPARAT

Tube, Cylinder

1шт.

2

PV12B01185D2

BUSHING

1шт.

3

NSS

NOT SOLD SEPARAT

Rod, Piston

1шт.

4

PB01V00003S002

BUSHING

1шт.

5

PV01V00045S005

CYLINDER HEAD

1шт.

6

PV01V00045S019

BUSHING

1шт.

7

PW01V00012S005

RING,37mm ID x 55mm OD x 11mm Thk

U

1шт.

8

PV01V00023S006

WIPER,33mm ID x 47mm OD x 8mm Thk

Ring

1шт.

9

ZD12G05500

O-RING,3.1mm Thk x 54.4mm ID, 90 Duro

O

1шт.

10

PV01V00045S010

BACK-UP RING

1шт.

11

ZD12G06000

O-RING,59.40mm ID x 65.60mm OD x 3.10mm

1шт.

12

PV01V00045S012

PISTON

1шт.

13

2438U988S16

SEAL

Ring

1шт.

14

PV01V00063S014

RING

Slide

2шт.

15

2438U988S18

SET SCREW

1шт.

16

2438U988S19

BALL

1шт.

17

PN54D01001D2

SEAL,35mm ID x 45mm OD x 4mm Thk

Seal, Dust

4шт.

18

ZG91U02000

LUBE NIPPLE

2шт.

PV01V00063R100

REPAIR KIT

Include(s) Items 1, 2, 17

1шт.

PM01V00050R200

REPAIR KIT

Include(s) Items 3, 4, 17

1шт.

PV01V00045R300

REPAIR KIT

Include(s) Items 7, 8, 9, 10, 11, 13, 14

1шт.

Выбрано товаров: 0