Запчасти Case CX27B BTW (07-037) - VALVE ASSY, PILOT (PB30V00002F1, PB30V00002F2) (35) - HYDRAULIC SYSTEMS

Схема запчастей Case CX27B BTW - (07-037) - VALVE ASSY, PILOT (PB30V00002F1, PB30V00002F2) (35) - HYDRAULIC SYSTEMS
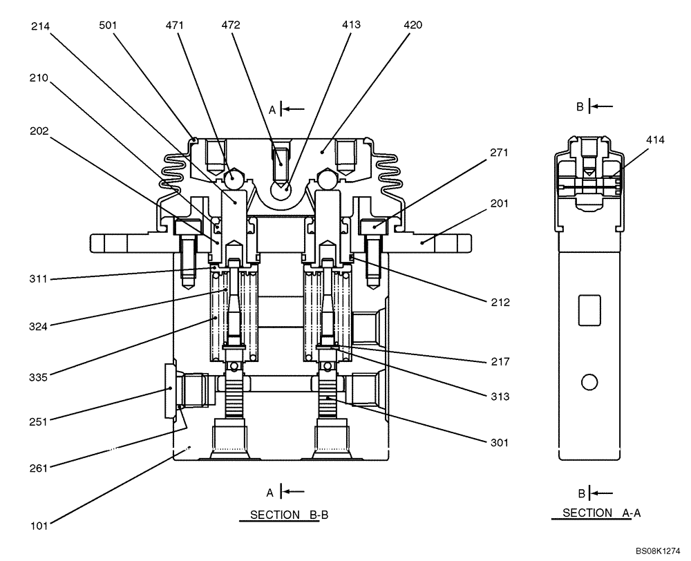
472
271
311
414
471
324
210
261
201
217
420
202
251
313
301
413
101
335
501
212
214
FIT
1:1
100%

Артикул

Название

Примечание

Количество

VALVE ASSY, PILOT, PB30V00002F1, PB30V00002F2

1шт.

101

NSS

NOT SOLD SEPARAT

Case

1шт.

201

NSS

NOT SOLD SEPARAT

Cover

1шт.

202

PB30V00002S202

PLUG

2шт.

210

PM30V00019S210

PACKING

2шт.

212

2436U2946S9

O-RING,13.5mm ID x 20.5mm OD x 1mm Thk

2шт.

214

NSS

NOT SOLD SEPARAT

Rod, Push

2шт.

217

NSS

NOT SOLD SEPARAT

2шт.

251

YW30V00001S157

PLUG

1шт.

261

ZD12P01100

O-RING

1шт.

271

ZS23C06016

SCREW,Hex Socket Head, M6 x 16mm

Cap

2шт.

301

NSS

NOT SOLD SEPARAT

Spool

2шт.

311

NSS

NOT SOLD SEPARAT

Seat Spring

2шт.

313

NSS

NOT SOLD SEPARAT

Washer

2шт.

324

NSS

NOT SOLD SEPARAT

Spring

2шт.

335

NSS

NOT SOLD SEPARAT

Spring (F1 Only)

2шт.

336

NSS

NOT SOLD SEPARAT

Spring (F2 Only)

2шт.

413

NSS

NOT SOLD SEPARAT

Shaft Cam

1шт.

414

NSS

NOT SOLD SEPARAT

Bushing

2шт.

420

NSS

NOT SOLD SEPARAT

Cam

1шт.

471

NSS

NOT SOLD SEPARAT

Ball

2шт.

472

NSS

NOT SOLD SEPARAT

Set Screw

2шт.

501

NSS

NOT SOLD SEPARAT

Boot

1шт.

PB30V00002R100

REPAIR KIT

Include(s) 413, 420, 471, 472

1шт.

Выбрано товаров: 24