Запчасти Case CX27B BTW (07-042) - PLUG ASSY (PH50T00001F1) (35) - HYDRAULIC SYSTEMS

Схема запчастей Case CX27B BTW - (07-042) - PLUG ASSY (PH50T00001F1) (35) - HYDRAULIC SYSTEMS
5
4
1
2
7
3
6
FIT
1:1
100%

Артикул

Название

Примечание

Количество

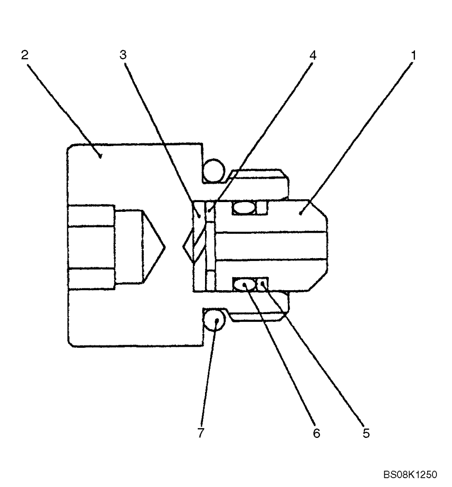
PLUG ASSY, PH50T00001F1

1шт.

1

NSS

NOT SOLD SEPARAT

Plug

1шт.

2

NSS

NOT SOLD SEPARAT

Plug

1шт.

3

NSS

NOT SOLD SEPARAT

Lock Washer

1шт.

4

NSS

NOT SOLD SEPARAT

Ring, Back Up

1шт.

5

ZD85P00700

BACK-UP RING

1шт.

6

ZD12P00700

O-RING,1.6mm Thk x 6.8mm ID, 90 Duro

1шт.

7

ZD12P01400

O-RING

1шт.

Выбрано товаров: 8