Качественные детали и логистика
Оригинальные и аналоговые запчасти с доставкой по России, Казахстану и Беларуси
©2022 PartSell ООО "Система" ИНН 2463123282 ОГРН 1212400004838
Центральный офис: г. Красноярск, Академика Киренского, д.87, пом.4
Телефон: 8 (800) 777-65-74 Email: zakaz@partsell.ru
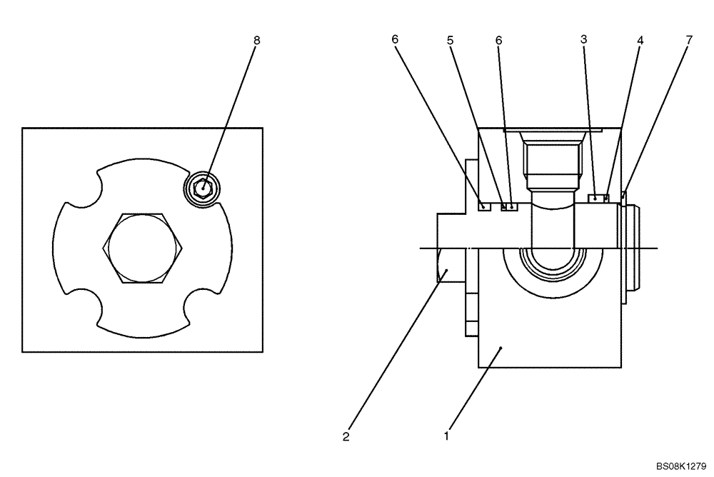
(07-043) - VALVE ASSY, SELECTOR (PA30V00005F1)
№
Артикул
Название
Примечание
Количество
VALVE ASSY, SELECTOR, PA30V00005F1
1шт.
1
PA30V01011P1
BODY
2
PA30V01012P1
SHAFT
3
ZD12G02500
O-RING,24.40mm ID x 30.60mm OD x 3.10mm
4
ZD75G02500
BACK-UP RING
5
ZD85P02100
RING
Back Up
6
ZD12P02100
O-RING,2.4mm Thk x 20.8mm ID, 90 Duro
2шт.
7
ZR16X02500
Retaining
8
ZS28C06010
CAPSCREW,Hex Socket Head, M6 x 10mm
Cap
Выбрано товаров: 0