Запчасти Case CX27B BTW (08-018) - GOVERNOR (10) - ENGINE

Схема запчастей Case CX27B BTW - (08-018) - GOVERNOR (10) - ENGINE
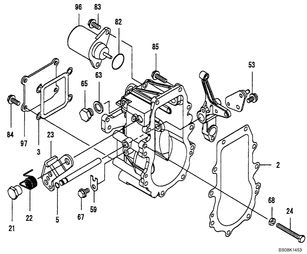
59
97
65
83
96
23
53
24
21
3
82
68
67
85
22
5
84
2
63
FIT
1:1
100%

Артикул

Название

Примечание

Количество

GOVERNOR

1шт.

2

VV15855361050

SEAL

PACKING, Case

1шт.

3

VV15855361070

SEAL

PACKING

1шт.

5

VV12915551280

O-RING

S6

1шт.

21

VV12925561410

NUT

NUT

1шт.

22

VV11980761420

TORSION SPRING

SPRING

1шт.

23

VV15855261441

LEVER

LEVER, Regulator

1шт.

24

VV12915561460

BOLT

Idle Limit

1шт.

53

VV26106060102

BOLT,M6 x 10mm

M6 x 10 Plated

1шт.

59

VV11966061901

RETAINER

1шт.

63

VV22190120000

SEAL

SEAL, Washer M12 (Bolt)

1шт.

65

VV23887120002

PLUG

PLUG, M12, Hex.

1шт.

67

VV26106060102

BOLT,M6 x 10mm

M6 x 10 Plated

1шт.

68

VV26756060002

LOCK NUT,M6

M6

1шт.

82

VV24341000280

O-RING

1A S-28. 0

1шт.

83

VV26106060142

BOLT,M6 x 14mm

M6 x 14 Plated

2шт.

84

VV26106060142

BOLT,M6 x 14mm

M6 x 14 Plated

4шт.

85

VV26106060202

BOLT,M6 x 20mm

M6 x 20 Plated

10шт.

96

VV11923377932

SOLENOID

Stop (Fuel Shut-Off)

1шт.

97

VV12964261060

COVER

COVER, Case

1шт.

Выбрано товаров: 20