Запчасти Case CX27B BTW (07-007) - VALVE ASSY, CONTROL (TRAVEL RIGHT) (PM30V00044F1, PM30V00044F2) (35) - HYDRAULIC SYSTEMS

Схема запчастей Case CX27B BTW - (07-007) - VALVE ASSY, CONTROL (TRAVEL RIGHT) (PM30V00044F1, PM30V00044F2) (35) - HYDRAULIC SYSTEMS
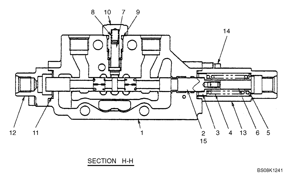
3
14
9
2
5
10
1
8
4
12
11
15
6
13
7
FIT
1:1
100%

Артикул

Название

Примечание

Количество

VALVE ASSY, CONTROL, PM30V00044F1, PM30V00044F2

1шт.

1

NSS

NOT SOLD SEPARAT

Body

1шт.

2

NSS

NOT SOLD SEPARAT

Spool (F1 Only)

1шт.

3

NSS

NOT SOLD SEPARAT

Seal

1шт.

4

NSS

NOT SOLD SEPARAT

Spring

1шт.

5

NSS

NOT SOLD SEPARAT

Seal

1шт.

6

NSS

NOT SOLD SEPARAT

Spool

1шт.

7

PW30V01009S002

POPPET

1шт.

8

PH30V00014S013

SPRING

1шт.

9

ZD12P01100

O-RING

1шт.

10

PW30V01009S005

PLUG

1шт.

11

PW30V01008S011

O-RING

2шт.

12

PM30V00021S012

COVER

1шт.

13

PM30V00021S013

COVER

1шт.

14

PM30V00021S014

SCREW

Cap Screw

4шт.

15

NSS

NOT SOLD SEPARAT

Spool (F2 Only)

1шт.

PM30V00044R100

REPAIR KIT

Includes Items 2, 3, 4, 5, 6 (F1 Only)

1шт.

PM30V00044R200

REPAIR KIT

KIT, REPAIR, Includes Items 3, 4, 5, 6, And 15 (F2 Only)

1шт.

Выбрано товаров: 18