Запчасти Case CX27B BTW (07-028) - PUMP ASSY (PX10V00015F1) (35) - HYDRAULIC SYSTEMS

Схема запчастей Case CX27B BTW - (07-028) - PUMP ASSY (PX10V00015F1) (35) - HYDRAULIC SYSTEMS
5
9
4
3
6
1
7
8
2
FIT
1:1
100%

Артикул

Название

Примечание

Количество

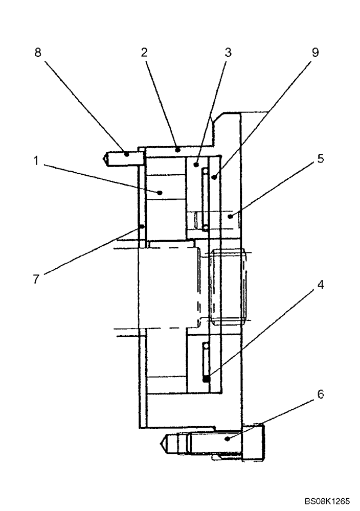
PUMP ASSY, PX10V00015F1

1шт.

1

NSS

NOT SOLD SEPARAT

Gear

1шт.

2

NSS

NOT SOLD SEPARAT

Case

1шт.

3

NSS

NOT SOLD SEPARAT

Plate

1шт.

4

PX10V00015S004

O-RING

1шт.

5

LE10V01001S039

PIN

Spring

1шт.

6

NSS

NOT SOLD SEPARAT

Bolt

3шт.

7

NSS

NOT SOLD SEPARAT

Plate

1шт.

8

ZP26D03008

PIN

Spring

1шт.

9

PM10V00015S009

PLATE

1шт.

Выбрано товаров: 10