Запчасти Case CX27B PV13 (01-039) - CONTROL LINES, REMOTE , P/N PX35V00003F1 (05) - SUPERSTRUCTURE

Схема запчастей Case CX27B PV13 - (01-039) - CONTROL LINES, REMOTE , P/N PX35V00003F1 (05) - SUPERSTRUCTURE
FIT
1:1
100%

Артикул

Название

Примечание

Количество

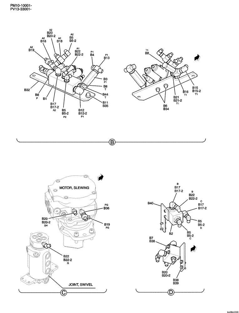
b1

PX35V00003F1

VALVE

ASSY, SOLENOID

1шт.

SEE (C.P.M)

1шт.

b2

PH26V00001F1

VALVE

ASSY, SHUTTLE

1шт.

b3

YN50V00020F1

HYDRAULIC OIL FILTER

ASSY, INLINE

1шт.

b4

ZE72X04000

PLUG

1шт.

b5

HH35S04004G1

90 ELBOW

4шт.

b5-2

ZD12P01100

O-RING

4шт.

b6

ZW16H08000

WASHER

2шт.

b7

ZS18C06065

SCREW,Hex, M6 x 65mm

CAP

2шт.

b8

ZE72X06000

PLUG

3шт.

b11

ZW16H10000

WASHER

2шт.

b12

2444Z3155

90 ELBOW,PF 3/8" Fem x PF 3/8" Male

1шт.

b12-2

ZD12P01400

O-RING

1шт.

b13

PF30H01004P1

TEE

1шт.

b15

HH35S06006G1

90 ELBOW,90 Degree, 3/8" PF x 3/8" PF x 60mm L

1шт.

b15-2

ZD12P01400

O-RING

1шт.

b16

HH55Q06006G1

TEE

1шт.

b17

2444Z2894

90 ELBOW

3шт.

b17-2

ZD12P01100

O-RING

3шт.

b18

HH55Q04004G1

TEE,1/4" ORB x 1/4" JIC x 1/4" JIC

2шт.

b19

HH55L04004G1

TEE

2шт.

b20

HH25S04004G1

HYD CONNECTOR

3шт.

b20-2

ZD12P01100

O-RING

3шт.

b21

2444P1098D2

HYD CONNECTOR

1шт.

b21-2

ZD12P01400

O-RING

1шт.

b22

HH45S04004G1

45 ELBOW

3шт.

b22-2

ZD12P01100

O-RING

3шт.

b32

PM64H01059P1

BRACKET

1шт.

b34

ZS18C08020

SCREW,Hex, M8 x 20mm

2шт.

b35

ZS18C10025

SCREW,Hex, M10 x 25mm

2шт.

b36

2444Z2525

HYD CONNECTOR

1шт.

b38

ZW16H06000

WASHER

4шт.

b39

ZS18C06020

SCREW,Hex, M6 x 20mm

CAP

2шт.

b40

PM64H01063P1

BRACKET

1шт.

b44

2444Z3326

HYD CONNECTOR

CONNECTOR

1шт.

Выбрано товаров: 35