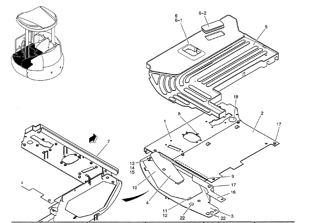
Запчасти Case CX27B PV13 (01-043) - PLATE GROUP FLOOR (CAB) (05) - SUPERSTRUCTURE

Схема запчастей Case CX27B PV13 - (01-043) - PLATE GROUP FLOOR (CAB) (05) - SUPERSTRUCTURE
6-2
5
4
1
14
17
12
13
22
22
15
99
3
6-1
10
18
11
2
8
6
7
16
17
FIT
1:1
100%

Артикул

Название

Примечание

Количество

PLATE GROUP, FLOOR (PV03M00021F1)

1шт.

1

PW03M01535P2

PLATE

1шт.

2

PW03M01592P1

COVER

PLATE

1шт.

3

PH03M01860P1

BRACKET

1шт.

4

PH03M01458P2

COVER

COVER

1шт.

5

PM26M00018P1

FLOOR MAT

FLOOR

1шт.

6

PV26M00005F1

MAT

ASSY, FLOOR

1шт.

6-1

PV26M00003P1

MAT

FLOOR

1шт.

6-2

PV03M01139P1

GROMMET

1шт.

7

PH21C01136DF

WEATHERSTRIP

1шт.

8

YN03M01159P1

GROMMET

1шт.

9

PW03M01545P1

RUBBER

1шт.

10

PW03M01830P1

COVER

COVER

1шт.

11

PW11M01071P1

PIN,8mm OD x 19mm L

1шт.

12

2419R9D2

COTTER PIN

OD 08mm x 27.7mm Long

1шт.

13

2420R585D23

BOLT,Wing, M8 x 20mm

WING

1шт.

14

ZW16X08000

WASHER,8mm ID x 17mm OD x 1.6mm Thk

1шт.

15

ZW26X08000

LOCK WASHER

Lock

1шт.

16

PW03M01831P1

COVER

PLATE

1шт.

17

PM21C01202P1

BOLT

SEMS

5шт.

18

PM03M01357P1

PLUG

1шт.

22

YT02C01567D2

PLATE

2шт.

Выбрано товаров: 0