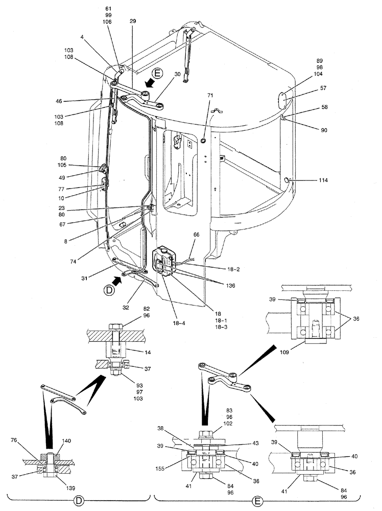
Запчасти Case CX27B PV13 (01-048) - CAB ASSY (05) - SUPERSTRUCTURE

Схема запчастей Case CX27B PV13 - (01-048) - CAB ASSY (05) - SUPERSTRUCTURE
30
96
103
103
71
58
31
89
77
109
97
84
46
96
80
39
103
93
102
37
140
57
108
67
80
29
84
4
74
99
18-2
139
136
114
18-3
106
83
18-4
82
96
32
49
155
37
36
14
105
41
40
39
43
10
23
61
36
41
96
39
104
98
18
18-1
66
40
76
38
8
108
90
36
FIT
1:1
100%

Артикул

Название

Примечание

Количество

4

PW02C01145P2

LINK

LINK

1шт.

8

YT51C01021P1

HOOK

1шт.

10

PW02C01116P1

STOP

1шт.

14

PW02C01301P1

PIN

2шт.

18

PE54C00002F1

TANK

ASSY, WASHER

1шт.

18-1

PE54C00002S001

TANK

ASSY, WASHER

1шт.

18-2

PE54C00002S002

ELECTRIC MOTOR

ASSY

1шт.

18-3

PE54C00002S003

BRACKET

1шт.

18-4

PE54C00002S004

BRACKET

1шт.

23

YT51C01077D1

SPACER

1шт.

29

PM02C01459P1

LINK

1шт.

30

PM02C01419P1

LINK

1шт.

31

PM51C01061P1

LINK

1шт.

32

PW51C01002P1

LINK

1шт.

36

PM51C01012P1

BEARING,15mm ID x 42mm OD x 13mm W

5шт.

37

PM51C01014P1

BEARING,8mm ID x 19mm OD x 6mm W

4шт.

38

PM02C01423P1

PIN

2шт.

39

PM02C01430D1

SEAL

4шт.

40

ZR26X04200

RETAINER

RING

3шт.

41

PM02C01425P1

WASHER

3шт.

43

PM02C01424P1

SHIM,1.0mm Thk

4шт.

46

PM02C01133P2

SPRING

1шт.

49

PM02C01440P1

STRIKER PLATE

1шт.

57

PM80S00006P1

LIGHT

ROOM

1шт.

58

YR02C01578P1

HOOK

1шт.

61

2405U104D012020

BUSHING

1шт.

66

YT02C01126DA

TUBE

1шт.

67

YR02C01524P1

SEAL

1шт.

71

2420R372D16

GROMMET

1шт.

74

PM02C01385P1

BLOCK

TAPPED

1шт.

76

PM02C01426P1

COLLAR

2шт.

77

ZM46C05025

BOLT

SEMS

2шт.

80

ZS68C10025

CAPSCREW

CAP

4шт.

82

ZS18C08025

SCREW,Hex, M8 x 25mm

CAP

2шт.

83

ZS18C08020

SCREW,Hex, M8 x 20mm

2шт.

84

ZS18C08016

SCREW,Hex, M8 x 16mm

CAP

3шт.

89

ZS31C04016

SCREW,Phillips Drive, Pan HD, M4 x 16mm

MACHINE

2шт.

90

ZS31C04012

BOLT,Phillips Drive, Pan HD, M4 x 12mm

MACHINE

2шт.

93

ZN18C06005

NUT

4шт.

96

ZW26X08000

LOCK WASHER

Lock

7шт.

97

ZW26X06000

LOCK WASHER

LOCK

4шт.

98

ZW26X04000

LOCK WASHER

LOCK

2шт.

99

ZW16P12000

WASHER

1шт.

102

ZW16X08000

WASHER,8mm ID x 17mm OD x 1.6mm Thk

2шт.

103

ZW16X06000

WASHER

5шт.

104

ZW16P04000

WASHER

2шт.

105

PM02C01353P1

WASHER

1шт.

106

ZR36X01000

RING

RETAINING

1шт.

108

ZR36X00500

SNAP RING

RETAINING

2шт.

109

PM02C01461P1

BOLT

1шт.

114

PM21C01146P1

GROMMET

1шт.

136

ZM46C06016

SCREW

SEMS

2шт.

139

PW02C01267P1

BOLT

2шт.

140

PW02C01268P1

NUT

2шт.

155

PM02C01556P1

SHIM

1шт.

Выбрано товаров: 55