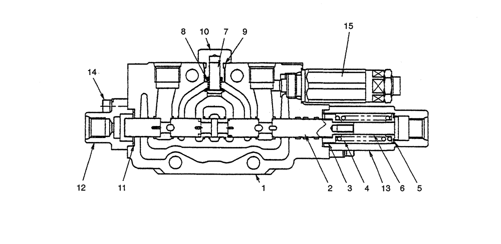
Запчасти Case CX27B PV13 (07-003) - VALVE ASSY, CONTROL (DOZER) ELECTRICAL AND HYDRAULIC COMPONENTS

Схема запчастей Case CX27B PV13 - (07-003) - VALVE ASSY, CONTROL (DOZER) ELECTRICAL AND HYDRAULIC COMPONENTS
12
6
2
14
1
4
9
15
13
7
11
3
5
8
10
FIT
1:1
100%

Артикул

Название

Примечание

Количество

PM30V00039F1

VALVE

ASSY, CONTROL

1шт.

1

NSS

NOT SOLD SEPARAT

BODY

1шт.

2

NSS

NOT SOLD SEPARAT

SPOOL

1шт.

3

NSS

NOT SOLD SEPARAT

SEAT

1шт.

4

NSS

NOT SOLD SEPARAT

SPRING

1шт.

5

NSS

NOT SOLD SEPARAT

O-RING

1шт.

6

NSS

NOT SOLD SEPARAT

SPOOL

1шт.

7

PH30V00003S006

POPPET

1шт.

8

PH30V00003S007

SPRING

1шт.

9

ZD12P01100

O-RING

1шт.

10

PH30V00003S009

PLUG

1шт.

11

PW30V01008S011

O-RING

2шт.

12

PM30V00021S012

COVER

1шт.

13

PM30V00021S013

COVER

1шт.

14

PM30V00021S014

SCREW

CAPSCREW

4шт.

15

PM22V00005F3

VALVE PRESSURE RELIE

ASSY

1шт.

SEE (HC014)

1шт.

PM30V00039R100

REPAIR KIT

CONSISTS OF REF.2~6(1)

1шт.

Выбрано товаров: 0