Запчасти Case CX27B PV13 (07-004) - VALVE ASSY, CONTROL (SLEWING) ELECTRICAL AND HYDRAULIC COMPONENTS

Схема запчастей Case CX27B PV13 - (07-004) - VALVE ASSY, CONTROL (SLEWING) ELECTRICAL AND HYDRAULIC COMPONENTS
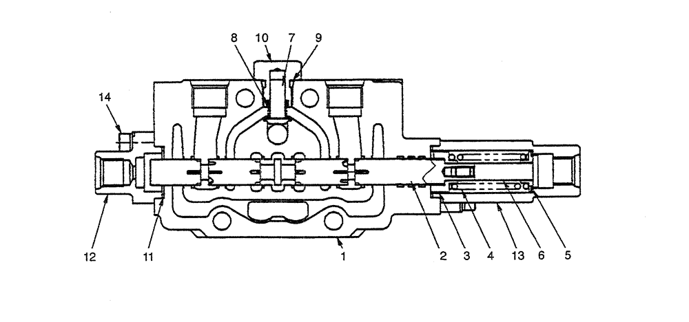
4
12
3
1
9
5
8
11
2
7
10
14
13
6
FIT
1:1
100%

Артикул

Название

Примечание

Количество

PM30V00040F1

CONTROL VALVE

ASSY

1шт.

1

NSS

NOT SOLD SEPARAT

BODY

1шт.

2

NSS

NOT SOLD SEPARAT

SPOOL

1шт.

3

NSS

NOT SOLD SEPARAT

SEAT

1шт.

4

NSS

NOT SOLD SEPARAT

SPRING

1шт.

5

NSS

NOT SOLD SEPARAT

SEAT

1шт.

6

NSS

NOT SOLD SEPARAT

SPOOL

1шт.

7

PH30V00003S006

POPPET

1шт.

8

PH30V00003S007

SPRING

1шт.

9

ZD12P01100

O-RING

1шт.

10

PH30V00003S009

PLUG

1шт.

11

PW30V01008S011

O-RING

2шт.

12

PM30V00021S012

COVER

1шт.

13

PM30V00021S013

COVER

1шт.

14

PM30V00021S014

SCREW

CAPSCREW

4шт.

PM30V00040R100

REPAIR KIT

CONSISTS OF REF. 2~6(1)

1шт.

Выбрано товаров: 16