Запчасти Case CX27B PV13 (07-009) - VALVE ASSY, CONTROL [TRAVEL (LEFT)] ELECTRICAL AND HYDRAULIC COMPONENTS

Схема запчастей Case CX27B PV13 - (07-009) - VALVE ASSY, CONTROL [TRAVEL (LEFT)] ELECTRICAL AND HYDRAULIC COMPONENTS
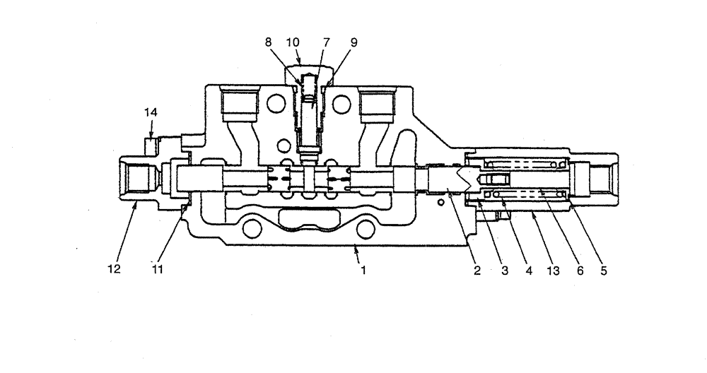
8
4
10
3
1
7
13
9
14
12
5
6
11
2
FIT
1:1
100%

Артикул

Название

Примечание

Количество

PM30V00046F1

VALVE

ASSY, CONTROL

1шт.

1

NSS

NOT SOLD SEPARAT

BODY

1шт.

2

NSS

NOT SOLD SEPARAT

SPOOL

1шт.

3

NSS

NOT SOLD SEPARAT

SEAL

1шт.

4

NSS

NOT SOLD SEPARAT

SPRING

1шт.

5

NSS

NOT SOLD SEPARAT

SEAL

1шт.

6

NSS

NOT SOLD SEPARAT

SPOOL

1шт.

7

PW30V01009S002

POPPET

CHECK VALVE

1шт.

8

PH30V00014S013

SPRING

1шт.

9

ZD12P01100

O-RING

1шт.

10

PW30V01009S005

PLUG

1шт.

11

PW30V01008S011

O-RING

2шт.

12

PM30V00021S012

COVER

1шт.

13

PM30V00021S013

COVER

1шт.

14

PM30V00021S014

SCREW

CAPSCREW

4шт.

PM30V00044R100

REPAIR KIT

CONSISTS OF ITEM 2~6(1)

1шт.

Выбрано товаров: 16