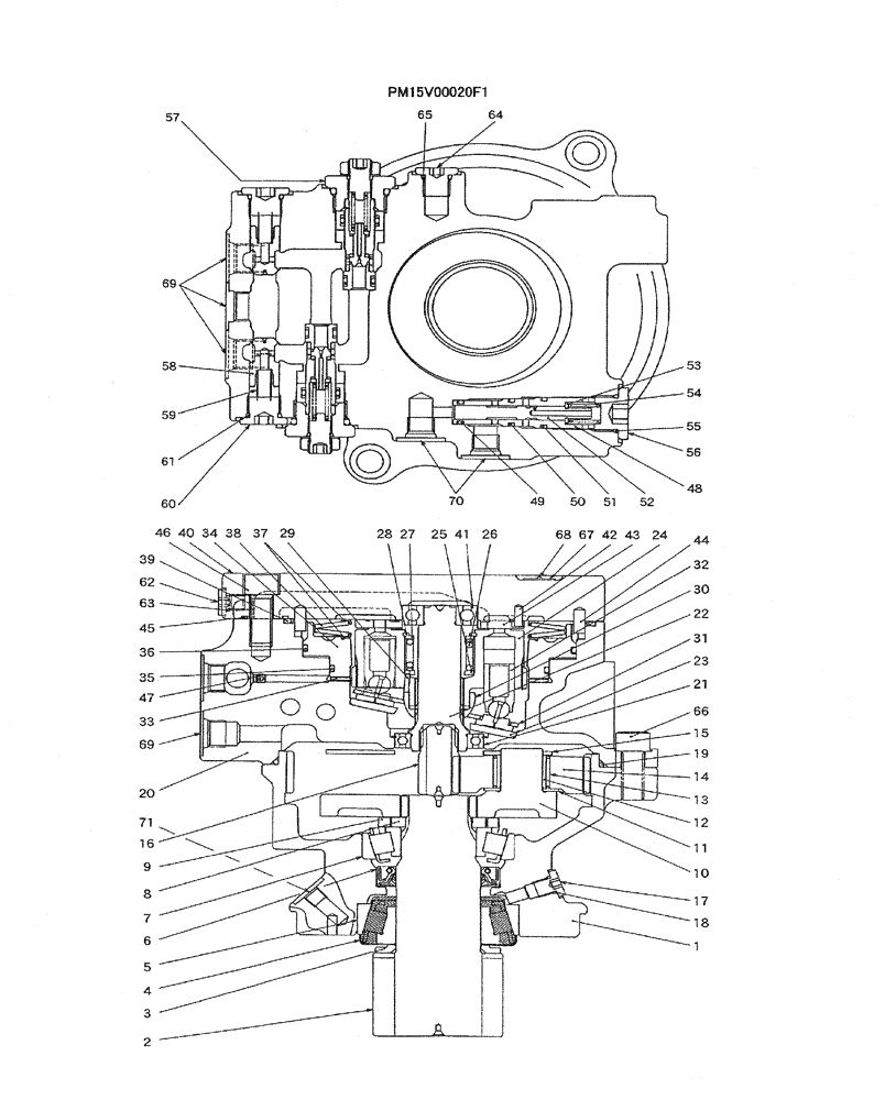
Запчасти Case CX27B PV13 (07-019) - MOTOR ASSY (SLEWING) ELECTRICAL AND HYDRAULIC COMPONENTS

Схема запчастей Case CX27B PV13 - (07-019) - MOTOR ASSY (SLEWING) ELECTRICAL AND HYDRAULIC COMPONENTS
44
67
53
36
35
59
27
60
20
64
62
51
24
7
32
10
23
65
48
55
47
16
13
50
11
9
57
54
34
15
14
26
61
41
8
2
43
45
56
3
71
17
39
6
1
69
42
28
69
30
58
49
25
19
18
66
21
40
22
63
46
12
38
52
33
70
4
68
31
29
5
37
FIT
1:1
100%

Артикул

Название

Примечание

Количество

PM15V00020F1

HYDRAULIC MOTOR

ASSY

1шт.

1

NSS

NOT SOLD SEPARAT

HOUSING

1шт.

2

NSS

NOT SOLD SEPARAT

SHAFT, PINION

1шт.

3

NSS

NOT SOLD SEPARAT

COLLAR

1шт.

4

PM15V00014S004

PLATE

1шт.

5

NSS

NOT SOLD SEPARAT

BEARING ROLLER

1шт.

6

YN15V00005S121

OIL SEAL

1шт.

7

NSS

NOT SOLD SEPARAT

BEARING

1шт.

8

NSS

NOT SOLD SEPARAT

PLATE

2шт.

9

PM15V00014S009

COLLAR

1шт.

10

PM15V00014S010

HOLDER

1шт.

11

PX15V01004S112

THRUST WASHER

3шт.

12

PX15V01004S113

RACE

INNER

3шт.

13

PX15V01004S114

NEEDLE BEARING

3шт.

14

PM15V00014S014

GEAR

PLANETARY

3шт.

15

PM15V00014S015

THRUST PLATE

1шт.

16

PM15V00014S016

GEAR

DRIVE

1шт.

17

LQ15V00007S015

PLUG

1шт.

18

ZD12P00800

O-RING,1.9mm Thk x 7.8mm ID, 90 Duro

1шт.

19

PM15V00014S019

O-RING

1шт.

20

PM15V00020S020

CASE

1шт.

21

PX15V01001S111

BEARING

BALL

1шт.

22

PM15V00014S022

SHAFT

1шт.

23

PX15V01001S109

THRUST PLATE

THRUST

1шт.

24

NSS

NOT SOLD SEPARAT

BLOCK, CYLINDER

1шт.

25

2441U942S36

COLLAR

1шт.

26

PX15V01001S115

SPRING

1шт.

27

PX15V01001S116

WASHER

1шт.

28

ZR26X03700

SNAP RING

RETAINING

1шт.

29

PX15V01001S113

PIN

3шт.

30

2441U942S41

HOLDER

RETAINER

1шт.

31

PM15V00014S031

PLATE

1шт.

32

NSS

NOT SOLD SEPARAT

ASSY

9шт.

33

PM15V00014S033

PLATE

DISK

1шт.

34

PM15V00014S034

BRAKE

PISTON

1шт.

35

ZD12G11000

O-RING,109.40mm ID x 115.60mm OD x 3.10mm

1шт.

36

ZD12G13500

O-RING,134.40mm ID x 140.60mm OD x 3.10mm

1шт.

37

PM15V00014S037

SPRING SEAT

2шт.

38

PM15V00014S038

SPRING-DISC

CONED DISK

1шт.

39

PX15V00005S027

O-RING

1шт.

40

PM15V00014S040

COVER

1шт.

41

2441U942S48

BALL BEARING

BALL

1шт.

42

2441U901S19

PIN

1шт.

43

PM15V00020S043

PLATE

1шт.

44

PM15V00014S044

PIN

2шт.

45

ZD12P02100

O-RING,2.4mm Thk x 20.8mm ID, 90 Duro

2шт.

46

ZS23C12030

SCREW,Hex Socket Head, M12 x 30mm

CAP

5шт.

47

2441U942S61

ORIFICE

1шт.

48

NSS

NOT SOLD SEPARAT

1шт.

49

ZD12P01090

O-RING

1шт.

50

ZD12P01200

O-RING

1шт.

51

ZD12P01400

O-RING

1шт.

52

NSS

NOT SOLD SEPARAT

1шт.

53

2436R1749S11

WASHER

1шт.

54

PM15V00014S054

SPRING

1шт.

55

ZD12P01800

O-RING

1шт.

56

2441U792S141

PLUG

1шт.

57

PX22V00003F2

VALVE PRESSURE RELIE

ASSY, RELIEF

2шт.

SEE (HC315)

1шт.

58

PX15V01005S202

CHECK VALVE

2шт.

59

PX15V01005S203

SPRING

2шт.

60

2441U802S58

PLUG

2шт.

61

ZD12P01400

O-RING

2шт.

62

LQ15V00007S015

PLUG

2шт.

63

ZD12P00800

O-RING,1.9mm Thk x 7.8mm ID, 90 Duro

2шт.

64

2441U984S35

PLUG

1шт.

65

ZD12P01100

O-RING

1шт.

66

ZS23C12030

SCREW,Hex Socket Head, M12 x 30mm

CAP

2шт.

67

NSS

NOT SOLD SEPARAT

1шт.

68

NSS

NOT SOLD SEPARAT

2шт.

69

NSS

NOT SOLD SEPARAT

4шт.

70

NSS

NOT SOLD SEPARAT

2шт.

71

NSS

NOT SOLD SEPARAT

1шт.

PM15V00014R400

REPAIR KIT

CONSISTS OF REF.48(1), 49(1), 50(1), 51(1), 52(1)

1шт.

PM15V00014R100

REPAIR KIT

CONSISTS OF REF. 18(1), 19(1), 35(1), 36(1), 39(1), 45(2), 49(1), 50(1), 51(1), 55(1), 61(2), 63(2), 65(1)

1шт.

PM15V00014R200

REPAIR KIT

CONSISTS OF REF. 24(1), 32(9)

1шт.

PM15V00014R300

REPAIR KIT

CONSISTS OF REF. 1(1). 2(1), 3(1), 4(1), 5(1), 6(1), 7(1), 8(2), 9(1)

1шт.

Выбрано товаров: 0