Запчасти Case CX27B PV13 (07-028) - PUMP ASSY , P/N PX10V00015F1 ELECTRICAL AND HYDRAULIC COMPONENTS

Схема запчастей Case CX27B PV13 - (07-028) - PUMP ASSY , P/N PX10V00015F1 ELECTRICAL AND HYDRAULIC COMPONENTS
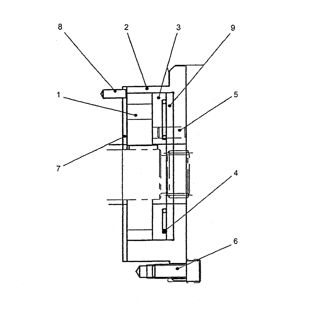
7
6
8
9
5
2
3
1
4
FIT
1:1
100%

Артикул

Название

Примечание

Количество

PX10V00015F1

PUMP

ASSY

1шт.

1

NSS

NOT SOLD SEPARAT

GEAR

1шт.

2

NSS

NOT SOLD SEPARAT

CASE

1шт.

3

NSS

NOT SOLD SEPARAT

PLATE

1шт.

4

PX10V00015S004

O-RING

1шт.

5

LE10V01001S039

PIN

SPRING

1шт.

6

NSS

NOT SOLD SEPARAT

BOLT

3шт.

7

NSS

NOT SOLD SEPARAT

PLATE

1шт.

8

ZP26D03008

PIN

SPRING

1шт.

9

PM10V00015S009

PLATE

1шт.

Выбрано товаров: 10