Запчасти Case CX27B PV13 (07-035) - CYLINDER ASSY, SWING ELECTRICAL AND HYDRAULIC COMPONENTS

Схема запчастей Case CX27B PV13 - (07-035) - CYLINDER ASSY, SWING ELECTRICAL AND HYDRAULIC COMPONENTS
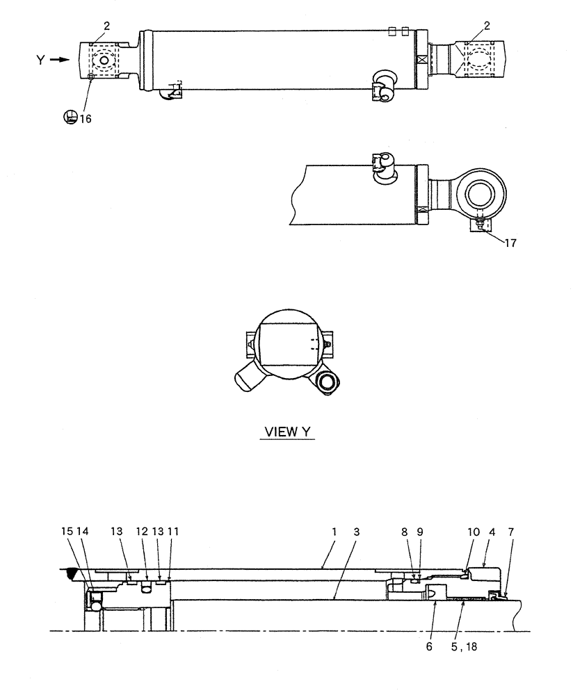
14
13
6
8
5
9
2
3
11
7
10
2
12
4
15
18
16
17
1
13
FIT
1:1
100%

Артикул

Название

Примечание

Количество

CYLINDER ASSY, SWING (PM01V00056F1)

1шт.

PM01V00056F2

CYLINDER

ASSY, SWING

1шт.

1

NSS

NOT SOLD SEPARAT

CYLINDER

1шт.

2

PM01V00044S002

BUSHING

2шт.

3

NSS

NOT SOLD SEPARAT

1шт.

4

PW01V00062S004

CYLINDER HEAD

1шт.

5

2438U1169S4

BUSHING

1шт.

6

2438U635S3

RING

U

1шт.

7

PH01V00006S006

RING

RING

1шт.

8

ZD12G07000

O-RING,69.40mm ID x 75.60mm OD x 3.10mm

1шт.

9

PH01V00016S008

BACK-UP RING

1шт.

10

ZD12G07500

O-RING,74.40mm ID x 80.60mm OD x 3.10mm

1шт.

11

PM01V00056S011

PISTON

1шт.

12

2438U816S19

RING

SEAL

1шт.

13

PH01V00016S012

RING

SLIDE

2шт.

14

2438U1057S16

SET SCREW

SETSCREW

1шт.

15

2436U946S11

BALL

1шт.

16

PM01V00007S025

GASKET

DUST

4шт.

17

ZG91U02000

LUBE NIPPLE

1шт.

18

PV01V00047S019

BUSHING

BUSHING

1шт.

PM01V00056R100

REPAIR KIT

PISTON SIDE CONSISTS OF REF. 1(1), 2(1), 16(2)

1шт.

PM01V00056R200

REPAIR KIT

ROD SIDE CONSISTS OF REF.2(1), 3(1), 16(2)

1шт.

PW01V00062R300

REPAIR KIT

CONSISTS OF REF.6(1), 7(1), 8(1), 9(1), 10(1), 12(1), 13(2

1шт.

Выбрано товаров: 23