Запчасти Case CX27B PV13 (07-038) - VAVE ASSY, PILOT (PROPELLING) ELECTRICAL AND HYDRAULIC COMPONENTS

Схема запчастей Case CX27B PV13 - (07-038) - VAVE ASSY, PILOT (PROPELLING) ELECTRICAL AND HYDRAULIC COMPONENTS
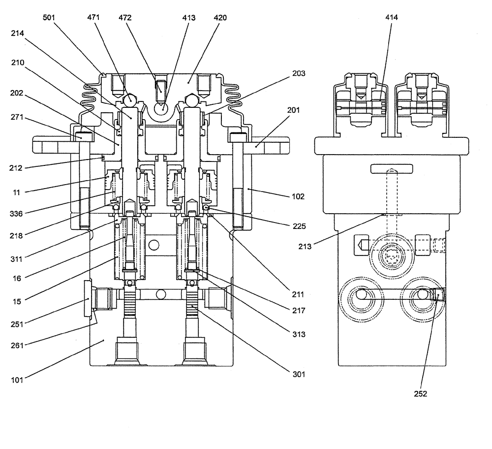
101
11
301
212
201
311
501
261
471
211
213
472
252
336
225
218
271
202
313
251
210
15
413
203
414
214
217
120
102
16
FIT
1:1
100%

Артикул

Название

Примечание

Количество

PM30V00019F6

PILOT VALVE

ASSY, PILOT (PROPELLING)

1шт.

11

NSS

NOT SOLD SEPARAT

PISTON

4шт.

15

PM30V00019S015

SPRING

4шт.

16

PM30V00019S016

SPRING

4шт.

101

NSS

NOT SOLD SEPARAT

CASE

1шт.

102

NSS

NOT SOLD SEPARAT

CASE

1шт.

202

PM30V00019S202

PLUG

4шт.

203

PM30V00019S203

CAP

4шт.

210

PM30V00019S210

PACKING

4шт.

211

PM30V00019S211

O-RING

4шт.

212

YT30V00009S212

O-RING

4шт.

213

ZD12P00800

O-RING,1.9mm Thk x 7.8mm ID, 90 Duro

2шт.

218

PM30V00019S218

SPRING SEAT

SPRING

4шт.

225

2436U625S232

BALL

12шт.

251

YW30V00001S157

PLUG

3шт.

252

2441U722S490

PLUG

2шт.

261

ZD12P01100

O-RING

3шт.

271

PM30V00019S271

CAPSCREW

CAP

4шт.

301

NSS

NOT SOLD SEPARAT

SPOOL

4шт.

336

PM30V00019S336

SPRING

4шт.

414

EN30V00045S414

BUSHING

4шт.

420

NSS

NOT SOLD SEPARAT

CAM

2шт.

471

NSS

NOT SOLD SEPARAT

BALL

4шт.

501

PM30V00019S501

BOOT

BOOT

2шт.

PM30V00019R100

REPAIR KIT

CONSISTS OF REF. 210(4), 211(4), 212(4), 213(2)

1шт.

PM30V00019R300

REPAIR KIT

CONSISTS OF REF. 413(1), 420(1), 471(2), 472(1)

1шт.

Выбрано товаров: 0