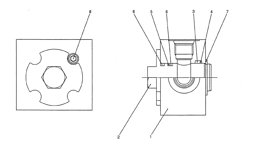
Запчасти Case CX27B PV13 (07-043) - VALVE ASSY, SELECTOR , P/N PA30V00005F1 ELECTRICAL AND HYDRAULIC COMPONENTS

Схема запчастей Case CX27B PV13 - (07-043) - VALVE ASSY, SELECTOR , P/N PA30V00005F1 ELECTRICAL AND HYDRAULIC COMPONENTS
3
6
2
5
6
1
4
8
7
FIT
1:1
100%

Артикул

Название

Примечание

Количество

PA30V00005F1

VALVE

ASSY, SELECTOR

1шт.

1

PA30V01011P1

BODY

1шт.

2

PA30V01012P1

SHAFT

1шт.

3

ZD12G02500

O-RING,24.40mm ID x 30.60mm OD x 3.10mm

1шт.

4

ZD75G02500

BACK-UP RING

1шт.

5

ZD85P02100

RING

BACK UP

1шт.

6

ZD12P02100

O-RING,2.4mm Thk x 20.8mm ID, 90 Duro

2шт.

7

ZR16X02500

RING

RETAINING

1шт.

8

ZS28C06010

CAPSCREW,Hex Socket Head, M6 x 10mm

CAP

1шт.

Выбрано товаров: 9