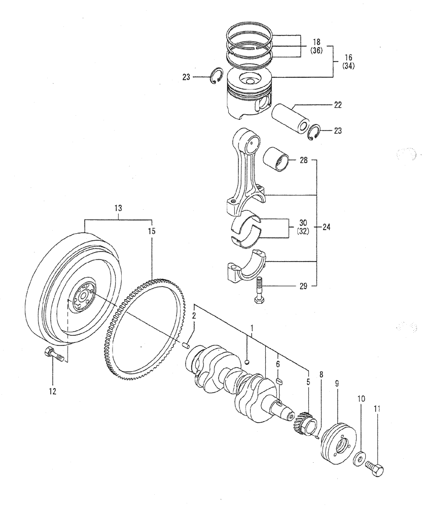
Запчасти Case CX27B PV13 (08-008) - CRANKSHAFT & PISTON ENGINE COMPONENTS

Схема запчастей Case CX27B PV13 - (08-008) - CRANKSHAFT & PISTON ENGINE COMPONENTS
2
29
16
5
36
11
18
22
32
28
6
23
30
13
24
1
23
9
8
34
15
12
10
FIT
1:1
100%

Артикул

Название

Примечание

Количество

1

VV11980221001

CRANKSHAFT

ASSY

1шт.

2

VV12910001580

PIN,M8 x 16mm

PARALLEL 8X16

1шт.

5

VV11980221201

GEAR

GEAR

1шт.

6

VV22512070140

KEY,M7 x 14mm

7X 14

1шт.

8

VV22351030010

PIN

PIN 3X10

1шт.

9

VV11980221660

PULLEY

V, CRANKSHAFT

1шт.

10

VV12979521661

WASHER

1шт.

11

VV12185021680

BOLT

V-PULLEY

1шт.

12

VV12111121501

BOLT

BOLT

6шт.

13

VV12948921590

FLYWHEEL

ASSY

1шт.

15

VV11986521600

GEAR

GEAR

1шт.

16

VV11980222080

PISTON RINGS KIT

W/RING

3шт.

18

VV11980222500

SET OF RINGS

PISTON

3шт.

22

VV11981322300

PIN

PISTON

3шт.

23

VV12979222400

CIRCLIP

CIRCLIP 23

6шт.

24

VV71981023100

ROD ASSY.

ASSY, CONNECTING

3шт.

28

VV11981023910

BUSHING

PISTON PIN, (1) REPAIR PART.

3шт.

29

VV11981023200

BOLT

CONNECTING ROD

6шт.

30

VV11981023600

BEARING

CRANKPIN

3шт.

32

VV11981023610

BEARING

PIN U. S=0. 25 (2) UNDER-SIZE

3шт.

34

VV71980222900

PISTON & RINGS KIT

W/RING 0S=. 25 (3) OVER-SIZE

3шт.

36

VV71980222950

RING, SET

0. S=0. 25 (3) OVER-SIZE

3шт.

Выбрано товаров: 22