Запчасти Case CX31B (01-035[02]) - HYD LINES, UPP (35) - HYDRAULIC SYSTEMS

Схема запчастей Case CX31B - (01-035[02]) - HYD LINES, UPP (35) - HYDRAULIC SYSTEMS
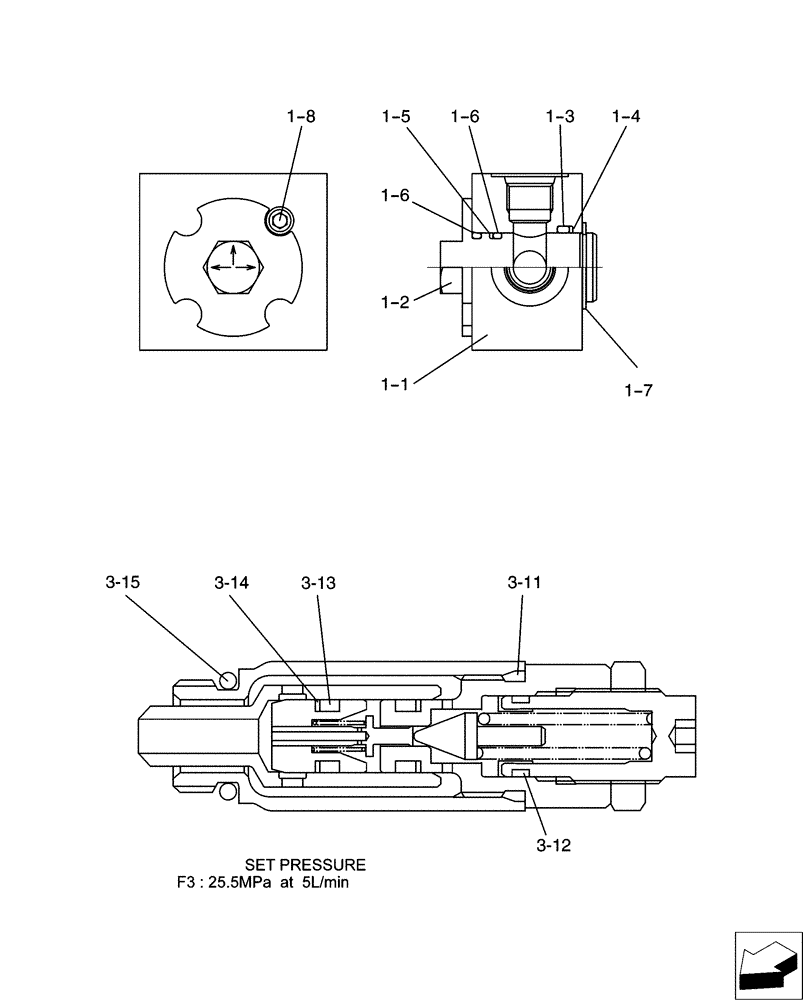
3-13
1-2
1-3
1-6
3-14
3-11
1-6
1-7
1-4
1-8
3-12
1-1
3-15
1-5
FIT
1:1
100%

Артикул

Название

Примечание

Количество

1-1

PA30V01011P1

BODY

1шт.

1-2

PA30V01012P1

SHAFT

1шт.

1-3

ZD12G02500

O-RING,24.40mm ID x 30.60mm OD x 3.10mm

1шт.

1-4

ZD75G02500

BACK-UP RING

1шт.

1-5

ZD85P02100

RING

Back-Up

1шт.

1-6

ZD12P02100

O-RING,2.4mm Thk x 20.8mm ID, 90 Duro

2шт.

1-7

ZR16X02500

RING

Snap

1шт.

1-8

ZS28C06010

CAPSCREW,Hex Socket Head, M6 x 10mm

1шт.

2-11

ZD12P01500

O-RING

1шт.

2-12

2436R612S13

O-RING

1шт.

2-13

PH22V00003S013

O-RING

2шт.

2-14

PH22V00003S014

BACK-UP RING

2шт.

2-15

ZD12P01400

O-RING

1шт.

Выбрано товаров: 13