Запчасти Case CX31B (01-058[02]) - CONTROL LINES, VALVE, ANGLE DOZER (35) - HYDRAULIC SYSTEMS

Схема запчастей Case CX31B - (01-058[02]) - CONTROL LINES, VALVE, ANGLE DOZER (35) - HYDRAULIC SYSTEMS
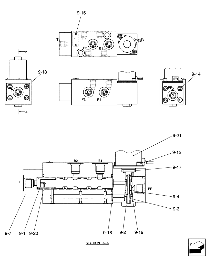
9-1
9-15
9-13
9-21
9-20
9-4
9-19
9-18
9-2
9-17
9-7
9-14
9-3
9-12
FIT
1:1
100%

Артикул

Название

Примечание

Количество

9-1

PE35V00001S001

SPRING

1шт.

9-2

2436U2159S3

PLUG

1шт.

9-3

2436U2802S3

SPRING

1шт.

9-4

YN35V00010S004

SPOOL

1шт.

9-7

YR35V00009S008

COVER

1шт.

9-12

EN35V00004S010

BOLT

2шт.

9-13

ZS23C06030

SCREW,Hex Socket Head, M6 x 30mm

Cap

4шт.

9-14

ZS23C06050

CAPSCREW,Hex Socket Head, M6 x 50mm

4шт.

9-15

YN30V00080S023

SCREW

2шт.

9-17

ZD11P01600

O-RING

1шт.

9-18

ZD12P00800

O-RING,1.9mm Thk x 7.8mm ID, 90 Duro

1шт.

9-19

ZD12P01000

O-RING

1шт.

9-20

ZD12P02100

O-RING,2.4mm Thk x 20.8mm ID, 90 Duro

2шт.

9-21

PY35V00005S005

SOLENOID

Valve

1шт.

Выбрано товаров: 14