Качественные детали и логистика
Оригинальные и аналоговые запчасти с доставкой по России, Казахстану и Беларуси
©2022 PartSell ООО "Система" ИНН 2463123282 ОГРН 1212400004838
Центральный офис: г. Красноярск, Академика Киренского, д.87, пом.4
Телефон: 8 (800) 777-65-74 Email: zakaz@partsell.ru
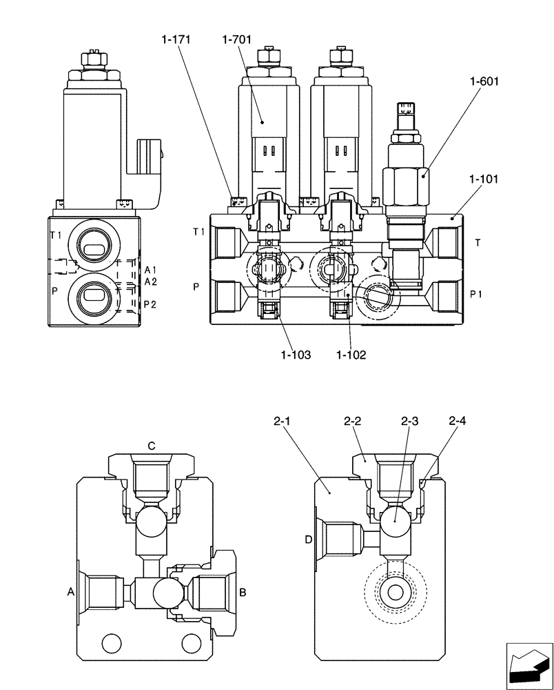
(01-059[03]) - CONTROL LINES, VALVE, COOLER
№
Артикул
Название
Примечание
Количество
1-101
PX35V00003S101
CASE
Body
1шт.
1-102
PX35V00003S102
SPOOL
2шт.
1-103
2436U1459S5
SPRING
1-171
YX35V00002S171
SCREW,Hex Socket Head, M5 x 12mm
4шт.
1-601
YR22V00001F1
HYDRAULIC VALVE
Relief
1-701
PX35V00003S701
SOLENOID
2-1
PH26V00001S001
BODY
2-2
PH26V00001S002
HYD CONNECTOR
2-3
PH26V00001S003
BALL
2-4
ZD12P01800
O-RING
Выбрано товаров: 0