Запчасти Case CX31B (01-061[04]) - CONTROL LINES, VALVE, WITH A PUMP Z PORT (35) - HYDRAULIC SYSTEMS

Схема запчастей Case CX31B - (01-061[04]) - CONTROL LINES, VALVE, WITH A PUMP Z PORT (35) - HYDRAULIC SYSTEMS
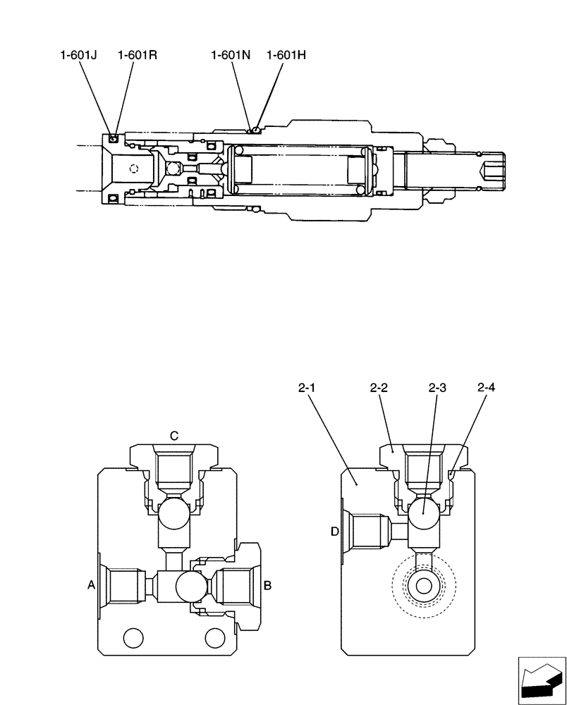
2-2
1-601n
1-601r
2-3
2-4
2-1
1-601j
1-601h
FIT
1:1
100%

Артикул

Название

Примечание

Количество

1-601h

NSS

NOT SOLD SEPARAT

O-Ring

1шт.

1-601j

NSS

NOT SOLD SEPARAT

O-Ring

1шт.

1-601n

NSS

NOT SOLD SEPARAT

Ring,Back Up

1шт.

1-601r

NSS

NOT SOLD SEPARAT

Ring,Slip

1шт.

2-1

PH26V00001S001

BODY

Block

1шт.

2-2

PH26V00001S002

HYD CONNECTOR

2шт.

2-3

PH26V00001S003

BALL

2шт.

2-4

ZD12P01800

O-RING

2шт.

YR22V00001R100

REPAIR KIT

Consists Of Ref:1-601H(1), 1-601J(1), 1-601N(1), 1-601R(1)

1шт.

Выбрано товаров: 9