Запчасти Case CX31B (01-064[02]) - CONTROL LINES, PROPEL, ANGLE DOZER (35) - HYDRAULIC SYSTEMS

Схема запчастей Case CX31B - (01-064[02]) - CONTROL LINES, PROPEL, ANGLE DOZER (35) - HYDRAULIC SYSTEMS
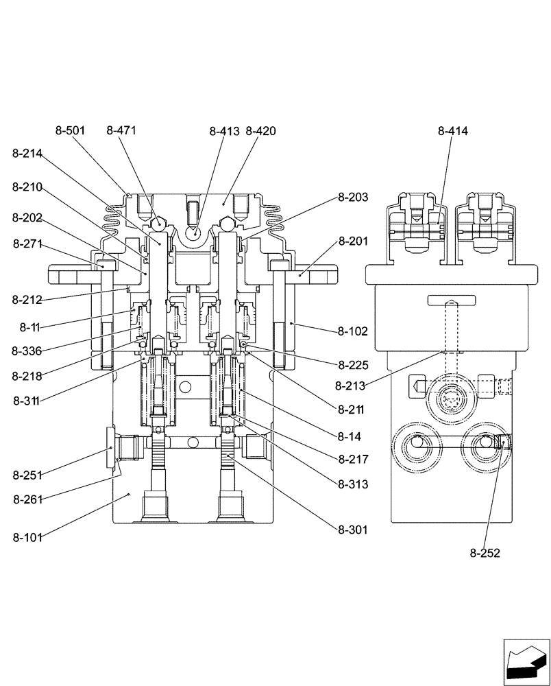
8-311
8-471
8-414
8-313
8-336
8-102
8-271
8-214
8-101
8-201
8-211
8-413
8-252
8-212
8-218
8-501
8-251
8-213
8-225
8-202
8-217
8-11
8-203
8-210
8-261
8-14
8-420
8-301
FIT
1:1
100%

Артикул

Название

Примечание

Количество

8-11

NSS

NOT SOLD SEPARAT

Piston

4шт.

8-14

EN30V00045S335

SPRING

4шт.

8-101

NSS

NOT SOLD SEPARAT

Body

1шт.

8-102

NSS

NOT SOLD SEPARAT

Body

1шт.

8-201

PM30V00019S201

COVER

2шт.

8-202

PM30V00019S202

PLUG

4шт.

8-203

PM30V00019S203

CAP

4шт.

8-210

PM30V00019S210

PACKING

4шт.

8-211

PM30V00019S211

O-RING

4шт.

8-212

YT30V00009S212

O-RING

4шт.

8-213

ZD12P00800

O-RING,1.9mm Thk x 7.8mm ID, 90 Duro

2шт.

8-214

EN30V00045S214

ROD

4шт.

8-217

EN30V00024S217

SHIM

4шт.

8-218

PM30V00019S218

SPRING SEAT

4шт.

8-225

2436U625S232

BALL

12шт.

8-251

YW30V00001S157

PLUG

3шт.

8-252

2441U722S490

PLUG

2шт.

8-261

ZD12P01100

O-RING

3шт.

8-271

PM30V00019S271

CAPSCREW

4шт.

8-301

NSS

NOT SOLD SEPARAT

Spool

4шт.

8-311

EN30V00045S311

SEAT

4шт.

8-313

EN30V00024S313

WASHER

4шт.

8-336

PM30V00019S336

SPRING

4шт.

8-413

NSS

NOT SOLD SEPARAT

Shaft

2шт.

8-414

EN30V00045S414

BUSHING

4шт.

8-420

NSS

NOT SOLD SEPARAT

Cam

2шт.

8-471

NSS

NOT SOLD SEPARAT

Ball

4шт.

8-501

PM30V00019S501

BOOT

2шт.

PM30V00019R100

REPAIR KIT

Consists Of Ref:8-213(1), 8-210(4), 8-211(4), 8-212(4)

1шт.

PM30V00019R300

REPAIR KIT

Consists Of Ref:8-413(1), 8-420(1), 4-472(1), 8-471(1)

1шт.

Выбрано товаров: 30