Запчасти Case CX31B (02-004[02]) - JOINT INSTAL, SWIVEL (35) - HYDRAULIC SYSTEMS

Схема запчастей Case CX31B - (02-004[02]) - JOINT INSTAL, SWIVEL (35) - HYDRAULIC SYSTEMS
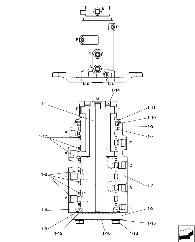
1-9
1-13
1-11
1-12
1-10
1-4
1-7
1-2
1-16
1-1
1-15
1-14
1-17
1-6
1-3
1-8
FIT
1:1
100%

Артикул

Название

Примечание

Количество

1-1

PW55V00015S001

SHAFT

1шт.

1-2

PW55V00015S002

ROTOR

1шт.

1-3

PW55V00001S003

FLANGE

1шт.

1-4

PW55V00001S004

SPACER

1шт.

1-5

PW55V00001S005

PIN

1шт.

1-6

PW55V00015S006

SEAL

4шт.

1-7

ZD12P08000

O-RING

1шт.

1-8

ZD12G09500

O-RING,3.1mm Thk x 94.4mm ID, 90 Duro

1шт.

1-9

ZD75P08000

BACK-UP RING

1шт.

1-10

PW55V00001S010

SEAL

Dust

1шт.

1-11

PW55V00001S011

SEAL

Dust

1шт.

1-12

PW55V00001S012

SNAP RING

Retaining

1шт.

1-13

ZS13C10030

SCREW

Cap

4шт.

1-14

ZE82T04000

PLUG

3шт.

1-15

ZW22K10000

LOCK WASHER

Lock

4шт.

1-17

PW55V00015S017

SEAL

3шт.

Выбрано товаров: 16