Запчасти Case CX31B (01-007[00]) - COUNTERWEIGHT INSTAL (39) - FRAMES AND BALLASTING

Схема запчастей Case CX31B - (01-007[00]) - COUNTERWEIGHT INSTAL (39) - FRAMES AND BALLASTING
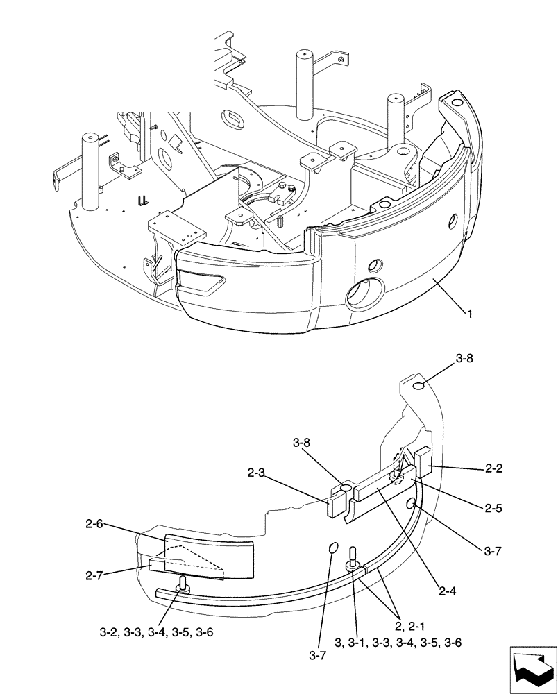
3
3-4
3-3
3-5
3-2
3-4
3-3
2-3
3-8
3-8
2-1
1
3-6
3-7
3-6
2
2-2
3-5
3-7
3-1
2-6
2-5
2-4
2-7
FIT
1:1
100%

Артикул

Название

Примечание

Количество

PW60C00020F1

1шт.

1

PW60C00013P1

COUNTERWEIGHT

1шт.

2

PW60C00018F1

1шт.

2-1

PW60C01019P1

RUBBER

2шт.

2-2

PW60C01020P1

FOAM INSULATION

1шт.

2-3

PW60C01024P1

FOAM INSULATION

1шт.

2-4

PW60C01026P1

FOAM INSULATION

1шт.

2-5

PW60C01023P1

FOAM INSULATION

1шт.

2-6

PW60C01027P1

FOAM INSULATION

1шт.

2-7

PW60C01028P1

FOAM INSULATION

1шт.

3

PW60C00019F1

1шт.

3-1

HS18C20090G1

BOLT

1шт.

3-2

HS18C20065G1

BOLT

2шт.

3-3

HY26Y21050G4

WASHER

3шт.

3-4

PM60C01022D1

SHIM

(1.2)

3шт.

3-5

PM60C01022D2

SHIM,2.0mm Thk

3шт.

3-6

PM60C01022D3

SHIM

(3.2)

3шт.

3-7

YT60C01007P1

PLUG

2шт.

3-8

LE60C01028P1

PLATE

2шт.

Выбрано товаров: 19