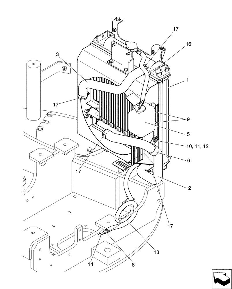
Запчасти Case CX31B (01-011[01]) - RADIATOR GROUP (10) - ENGINE

Схема запчастей Case CX31B - (01-011[01]) - RADIATOR GROUP (10) - ENGINE
17
14
8
3
6
5
17
2
11
17
9
13
16
10
1
17
12
FIT
1:1
100%

Артикул

Название

Примечание

Количество

1

PW05P00040F1

1шт.

2

PW05P01089P1

HOSE

Radiator

1шт.

3

PW05P01088P1

HOSE

Radiator

1шт.

5

PU01P01024F1

RESERVOIR

Water, Sub

1шт.

6

ZC46X38014

CLIP

1шт.

9

ZM61C06020

BOLT

Sems

2шт.

10

ZS18C08016

SCREW,Hex, M8 x 16mm

Cap

1шт.

11

ZW26X08000

LOCK WASHER

Lock

1шт.

12

YR21C01161P1

WASHER,9mm ID x 22mm OD x 2.3mm Thk

1шт.

13

PU13E01002D1

TUBE

1шт.

14

PW05P01117P1

PLUG

1шт.

16

PU13E01002D9

TUBE

1шт.

17

ZC16X03300

FASTENER

4шт.

Выбрано товаров: 13