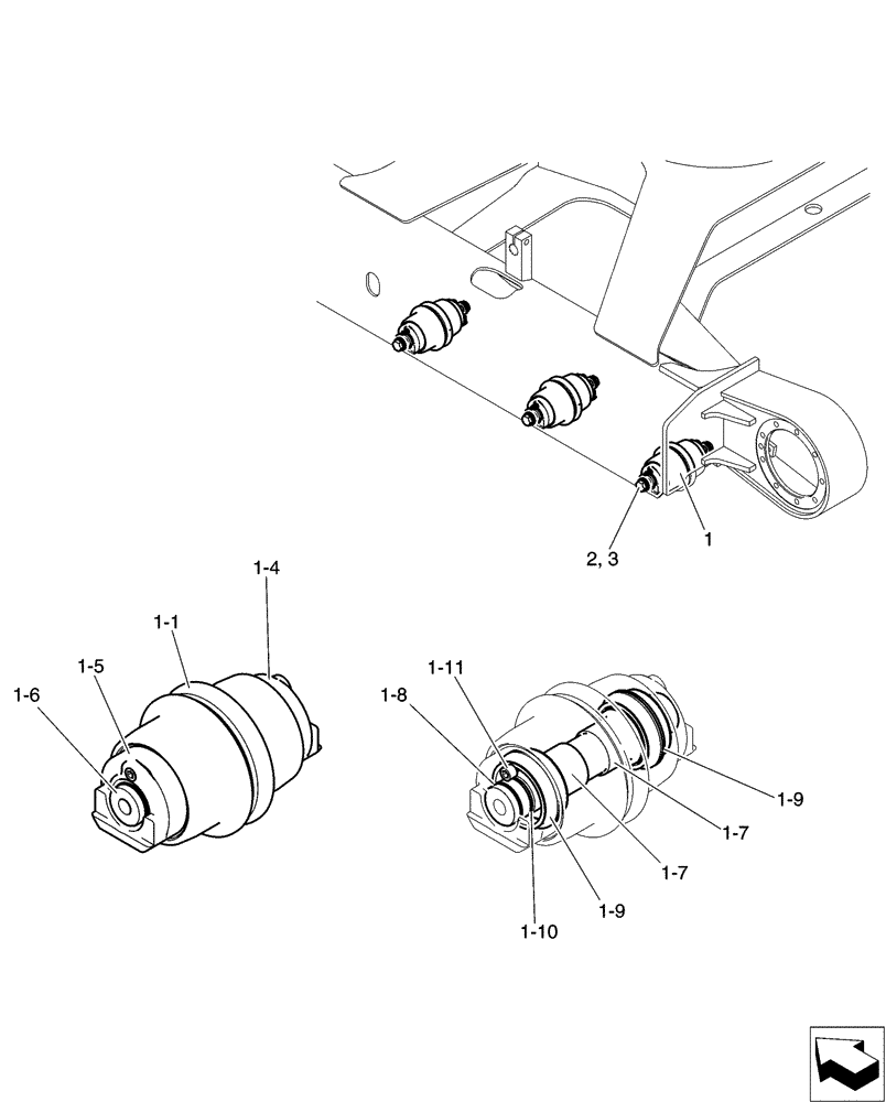
Запчасти Case CX31B (02-008[00]) - ROLLER ASSY, TRACK (48) - TRACKS & TRACK SUSPENSION

Схема запчастей Case CX31B - (02-008[00]) - ROLLER ASSY, TRACK (48) - TRACKS & TRACK SUSPENSION
1-11
1-9
2
3
1-10
1
1-7
1-7
1-1
1-8
1-9
1-4
1-6
1-5
FIT
1:1
100%

Артикул

Название

Примечание

Количество

PX64D00010F1

Track

1шт.

1

PX64D00009F1

ROLLER ASSY.,107mm OD x 171mm W

Track, Low

8шт.

1-1

PX64D01005P1

ROLLER

1шт.

1-4

PX64D01008P1

COLLAR

1шт.

1-5

PX64D01009P1

COLLAR

1шт.

1-6

PX64D01010P1

SHAFT

1шт.

1-7

PX64D01011P1

BUSHING

2шт.

1-8

PX64D01012P1

RING

Retaining

1шт.

1-9

PX64D01013P1

SEAL

Floating

2шт.

1-10

ZD11G02500

O-RING,24.40mm ID x 30.60mm OD x 3.10mm

1шт.

1-11

ZE82T02000

PLUG

1шт.

2

PX64D01014P1

CAPSCREW

16шт.

3

ZW16H14000

WASHER

16шт.

Выбрано товаров: 13