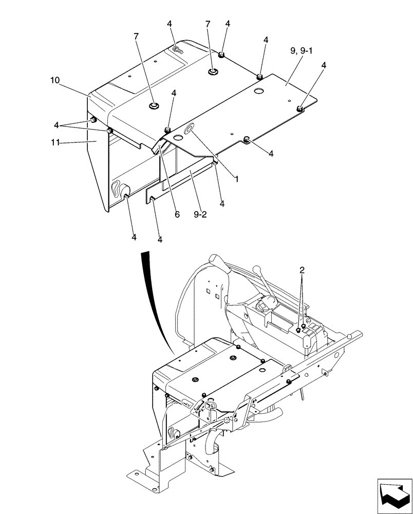
Запчасти Case CX31B (01-094[00]) - HOSE ASSY, HEATER, WITHOUT HEATER (50) - CAB CLIMATE CONTROL

Схема запчастей Case CX31B - (01-094[00]) - HOSE ASSY, HEATER, WITHOUT HEATER (50) - CAB CLIMATE CONTROL
4
4
11
7
1
4
10
4
4
4
6
7
4
9-2
4
4
2
9
9-1
FIT
1:1
100%

Артикул

Название

Примечание

Количество

PW21M00012F1

Heater (Without Heater)

1шт.

1

2420Z1042

GROMMET

1шт.

2

PW17M01021P1

CAP

2шт.

4

PA03M01093D2

BOLT

Sems

14шт.

6

PM22C01013DB

WEATHERSEAL STRIP

1шт.

7

2420R429D4

GROMMET

2шт.

9

PV10M01006F1

COVER ASSY

1шт.

9-1

PV21M01018P1

COVER

1шт.

9-2

PW10M01242P1

INSULATION

1шт.

10

PW03M01862P1

COVER

1шт.

11

PW10M01280P1

COVER

1шт.

Выбрано товаров: 11